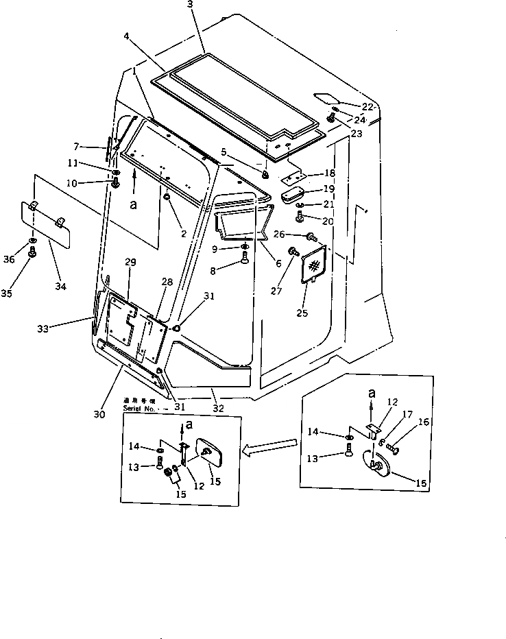
Запчасти Komatsu WA320-1 КАБИНА ROPS (/8) (С РАБОЧ. ОСВЕЩЕНИЕ И ЗАДН. ДВОРНИКИ)(№-9999) РАМА И ЧАСТИ КОРПУСА

Схема запчастей Komatsu WA320-1 - КАБИНА ROPS (/8) (С РАБОЧ. ОСВЕЩЕНИЕ И ЗАДН. ДВОРНИКИ)(№-9999) РАМА И ЧАСТИ КОРПУСА
FIT
1:1
100%

Артикул

Название

Примечание

Количество

|$0

418-926-1200

ROPS CAB ASS'Y

SN: 10001-19999

1шт.

|$$2

THIS ASSEMBLY CONSISTS OF ALL PARTS SHOWN IN FIGS.5451 TO 5458.

-1шт.

1

419-926-1251

PAD

SN: 10001-19999

1шт.

2

09416-10000

BUTTON

SN: 10001-19999

6шт.

3

419-926-1260

INSULATOR

SN: 10001-19999

1шт.

4

419-926-1360

PAD

SN: 10001-19999

1шт.

5

419-926-1710

BUTTON

SN: 10001-19999

6шт.

6

419-926-1311

COVER,L.H.

SN: 10001-19999

1шт.

7

419-926-1330

COVER,R.H.

SN: 10001-19999

1шт.

8

01225-40512

SCREW

SN: 10001-19999

2шт.

9

421-54-15790

WASHER

SN: 10001-19999

2шт.

10

01220-40512

SCREW

SN: 10001-19999

4шт.

11

01642-20508

WASHER

SN: 10001-19999

4шт.

12

419-56-11271

STAY

SN: .-19999

1шт.

12

417-54-15610

STAY

SN: 10001-.

2шт.

13

01225-40516

SCREW

SN: 10001-19999

4шт.

14

421-54-15790

WASHER

SN: 10001-19999

4шт.

15

419-56-11260

MIRROR,ROOM

SN: .-19999

1шт.

15

421-54-15580

MIRROR,ROOM

SN: 10001-.

2шт.

16

01220-40616

SCREW

SN: 10001-.

2шт.

17

01602-20619

WASHER,SPRING

SN: 10001-.

2шт.

18

425-54-15590

PLATE

SN: 10001-19999

1шт.

19

08141-12400

LAMP

SN: 10001-19999

1шт.

19

08116-02410

BULB, 10W

SN: 10001-19999

1шт.

20

01220-40416

SCREW

SN: 10001-19999

2шт.

21

01601-20410

WASHER,SPRING

SN: 10001-19999

2шт.

22

417-54-15270

PLATE

SN: 10001-19999

1шт.

23

01220-40512

SCREW

SN: 10001-19999

4шт.

24

01601-20513

WASHER,SPRING

SN: 10001-19999

4шт.

25

419-54-15522

POCKET

SN: 10001-19999

1шт.

26

01220-40412

SCREW

SN: 10001-19999

2шт.

27

01370-00410

SCREW

SN: 10001-19999

1шт.

28

419-54-15571

PAD,L.H.

SN: 10001-19999

1шт.

29

419-54-15581

PAD,R.H.

SN: 10001-19999

1шт.

30

419-54-15591

PAD

SN: 10001-19999

1шт.

31

09416-10000

BUTTON

SN: 10001-19999

13шт.

32

419-54-15621

PAD,L.H.

SN: 10001-19999

1шт.

33

419-54-15631

PAD,R.H.

SN: 10001-19999

1шт.

34

419-955-1110

SUNVISOR

SN: 10001-19999

1шт.

35

01220-40412

SCREW

SN: 10001-19999

4шт.

36

01642-20405

WASHER

SN: 10001-19999

4шт.

Выбрано товаров: 41