Запчасти Komatsu WA320-1 ЭЛЕКТРИКА (КОНСОЛЬН. БЛОК¤ ПРАВ.) (TBG/ABE СПЕЦ-Я.)(№-) СПЕЦ. APPLICATION ЧАСТИ

Схема запчастей Komatsu WA320-1 - ЭЛЕКТРИКА (КОНСОЛЬН. БЛОК¤ ПРАВ.) (TBG/ABE СПЕЦ-Я.)(№-) СПЕЦ. APPLICATION ЧАСТИ
FIT
1:1
100%

Артикул

Название

Примечание

Количество

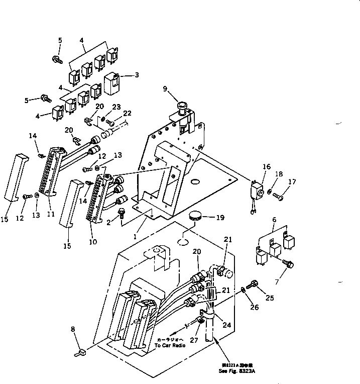
1

419-06-11134

BOX

SN: 20001-UP

1шт.

2

01435-00820

BOLT

SN: 20001-UP

3шт.

3

22W-06-13251

FLASHER

SN: 20001-UP

1шт.

4

287-06-16410

RELAY

SN: 20001-UP

8шт.

4

287-06-16420

BRACKET

SN: 20001-UP

8шт.

5

01435-00612

BOLT

SN: 20001-UP

9шт.

6

421-06-11940

RELAY

SN: 20001-UP

3шт.

6

287-06-16420

BRACKET

SN: 20001-UP

3шт.

7

01435-00612

BOLT

SN: 20001-UP

3шт.

8

424-06-12240

CONNECTOR

SN: 20001-UP

1шт.

9

08913-02400

LIGHTER

SN: 20001-UP

1шт.

10

419-06-12381

BOX,FUSE

SN: 20001-UP

1шт.

11

419-06-12371

BOX,FUSE

SN: 20001-UP

1шт.

12

01220-40620

SCREW

SN: 10001-UP

4шт.

13

01641-20608

WASHER

SN: 10001-UP

4шт.

14

283-06-16180

FUSE, 5A

SN: 20001-UP

2шт.

14

283-06-16190

FUSE, 10A

SN: 20001-UP

19шт.

14

22W-06-13160

FUSE, 20A

SN: 20001-UP

6шт.

15

283-06-16120

COVER

SN: 10001-UP

2шт.

16

207-06-31160

BUZZER

SN: 10001-UP

1шт.

17

01220-40412

SCREW

SN: 10001-UP

2шт.

18

01641-20405

WASHER

SN: 10001-UP

2шт.

19

419-54-12280

COVER

SN: 10001-UP

1шт.

20

08052-02411

CLIP

SN: 10001-UP

3шт.

21

08052-02711

CLIP

SN: 10001-UP

3шт.

22

01220-40608

SCREW

SN: 10001-UP

6шт.

23

01641-20608

WASHER

SN: 10001-UP

6шт.

24

08036-03014

CLIP

SN: 10001-UP

1шт.

25

01010-51016

BOLT

SN: 10001-UP

1шт.

26

01643-31032

WASHER

SN: 10001-UP

1шт.

27

08036-10614

CLIP

SN: 10001-UP

1шт.

Выбрано товаров: 31