Запчасти Komatsu WA320-1 ЭЛЕКТРИКА (ПЕРЕДН. ЛИНИЯ) (TBG/ABE СПЕЦ-Я.)(№-9999) СПЕЦ. APPLICATION ЧАСТИ

Схема запчастей Komatsu WA320-1 - ЭЛЕКТРИКА (ПЕРЕДН. ЛИНИЯ) (TBG/ABE СПЕЦ-Я.)(№-9999) СПЕЦ. APPLICATION ЧАСТИ
FIT
1:1
100%

Артикул

Название

Примечание

Количество

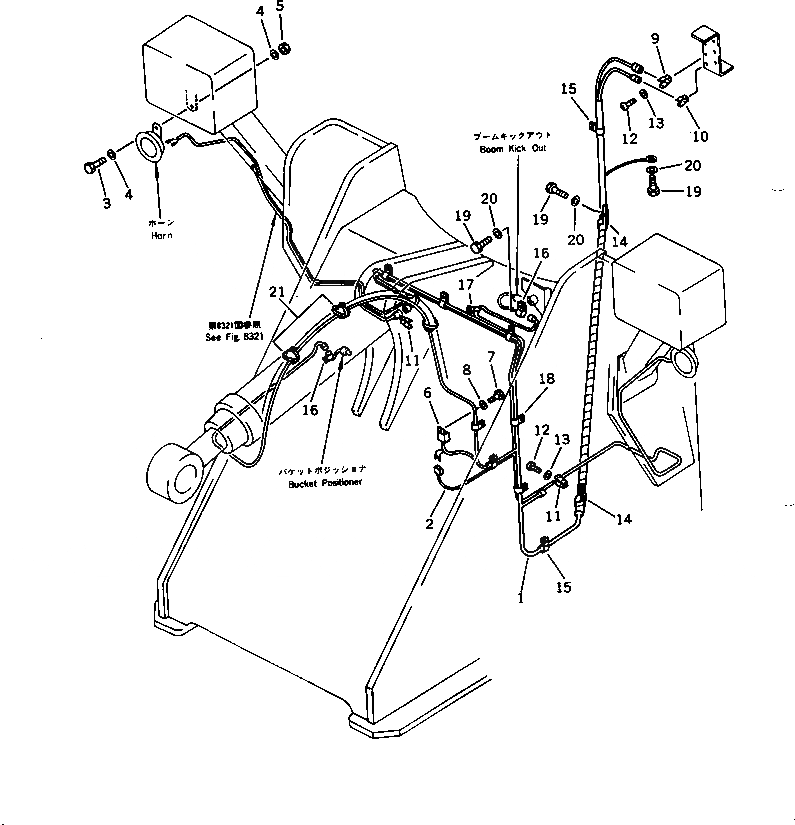
1

419-06-12273

WIRE ASS'Y

SN: 10001-19999

1шт.

1

421-06-11970

DIODE

SN: 10001-19999

1шт.

2

419-06-12670

WIRE ASS'Y

SN: 10001-@

1шт.

3

01010-50812

BOLT

SN: 10001-@

2шт.

4

01643-30823

WASHER

SN: 10001-@

4шт.

5

01580-10806

NUT

SN: 10001-@

2шт.

6

287-06-16410

RELAY,HORN

SN: 10001-@

1шт.

7

01010-50612

BOLT

SN: 10001-@

1шт.

8

01643-30623

WASHER

SN: 10001-@

1шт.

9

08052-02711

CLIP

SN: 10001-@

1шт.

10

08052-01911

CLIP

SN: 10001-@

1шт.

11

283-06-17120

CLIP

SN: 10001-19999

2шт.

12

01220-40608

SCREW

SN: 10001-19999

4шт.

13

01641-20608

WASHER

SN: 10001-19999

4шт.

14

08035-03010

CLIP

SN: 10001-19999

2шт.

15

08036-01414

CLIP

SN: 10001-19999

2шт.

16

423-06-12640

CLIP

SN: 10001-@

2шт.

17

08036-10814

CLIP

SN: 10001-19999

1шт.

18

08036-11214

CLIP

SN: 10001-19999

8шт.

19

01010-51016

BOLT

SN: 10001-19999

13шт.

20

01643-31032

WASHER

SN: 10001-19999

13шт.

21

08034-00519

BAND

SN: 10001-19999

6шт.

Выбрано товаров: 22