Запчасти Komatsu WA320-1 ТОРМОЗ. МАСЛОПРОВОДЯЩАЯ ЛИНИЯ (/) (TBG/ABE СПЕЦ-Я.)(№-9999) СПЕЦ. APPLICATION ЧАСТИ

Схема запчастей Komatsu WA320-1 - ТОРМОЗ. МАСЛОПРОВОДЯЩАЯ ЛИНИЯ (/) (TBG/ABE СПЕЦ-Я.)(№-9999) СПЕЦ. APPLICATION ЧАСТИ
FIT
1:1
100%

Артикул

Название

Примечание

Количество

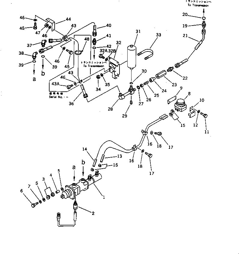
1

419-44-12101

CYLINDER ASS'Y,BOOSTER AND MASTER

SN: 10001-19999

1шт.

2

419-06-11230

SWITCH,NEUTRAL

SN: 10001-19999

1шт.

3

419-43-17930

CUSHION

SN: 10001-19999

8шт.

4

419-43-17910

SPACER

SN: 10001-19999

4шт.

5

419-43-17920

WASHER

SN: 10001-19999

8шт.

6

01050-51260

BOLT

SN: 10001-19999

4шт.

7

01643-31232

WASHER

SN: 10001-19999

4шт.

8

419-43-17130

TANK ASS'Y,BRAKE OIL

SN: 10001-19999

1шт.

8

418-43-17910

CAP

SN: 10001-19999

1шт.

8

418-43-17920

DIAPHRAGM

SN: 10001-19999

1шт.

8

418-43-17930

SENSOR

SN: 10001-19999

1шт.

9

419-43-17940

BRACKET

SN: 10001-19999

1шт.

10

419-43-17950

BRACKET

SN: 10001-19999

1шт.

11

01010-50820

BOLT

SN: 10001-19999

2шт.

12

01643-30823

WASHER

SN: 10001-19999

2шт.

13

419-43-17561

HOSE

SN: 10001-19999

1шт.

14

419-43-17571

HOSE

SN: 10001-19999

1шт.

15

07281-00197

CLAMP

SN: 10001-19999

4шт.

16

08036-21814

CLIP

SN: 10001-19999

2шт.

17

01010-51020

BOLT

SN: 10001-19999

2шт.

18

01643-31032

WASHER

SN: 10001-19999

2шт.

19

07230-10522

UNION

SN: 10001-19999

1шт.

20

07002-02434

O-RING

SN: 10001-19999

1шт.

21

419-43-17271

HOSE

SN: 10001-19999

1шт.

22

419-09-11340

CONNECTOR

SN: 10001-19999

1шт.

23

205-60-51500

VALVE ASS'Y

SN: 10001-19999

1шт.

24

205-60-51390

POPPET

SN: 10001-19999

1шт.

25

205-60-51410

SPRING

SN: 10001-19999

1шт.

26

205-60-51420

SEAT

SN: 10001-19999

1шт.

27

04065-01410

RING

SN: 10001-19999

1шт.

28

419-43-17150

TEE

SN: 10001-19999

1шт.

29

07042-20108

PLUG

SN: 10001-19999

1шт.

30

07002-02034

O-RING

SN: 10001-19999

1шт.

31

208-60-13110

ACCUMULATOR

SN: 10001-19999

1шт.

32

419-43-17430

BRACKET

SN: 10001-19999

1шт.

32A

01010-51225

BOLT

SN: 10001-19999

3шт.

32B

01643-31232

WASHER

SN: 10001-19999

3шт.

33

07283-21185

CLIP

SN: 10001-19999

2шт.

34

01599-01214

NUT

SN: 10001-19999

4шт.

35

01643-31232

WASHER

SN: 10001-19999

4шт.

36

419-43-17582

HOSE

SN: 10001-19999

1шт.

37

07235-10522

ELBOW

SN: 10001-19999

1шт.

38

419-09-11270

ELBOW

SN: 10001-19999

1шт.

39

07002-02434

O-RING

SN: 10001-19999

2шт.

40

07102-20509

HOSE

SN: 10001-19999

1шт.

41

07230-10522

UNION

SN: 10001-19999

1шт.

42

07002-02434

O-RING

SN: 10001-19999

1шт.

43

08036-22514

CLIP

SN: .-19999

3шт.

43

08036-22514

CLIP

SN: 10001-.

2шт.

43A

01010-51016

BOLT

SN: .-19999

1шт.

44

419-43-17220

PLATE

SN: 10001-19999

1шт.

45

01010-51025

BOLT

SN: 10001-19999

3шт.

46

01643-31032

WASHER

SN: .-19999

5шт.

46

01643-31032

WASHER

SN: 10001-.

4шт.

47

01580-11008

NUT

SN: 10001-19999

1шт.

48

08034-00823

BAND

SN: .-19999

1шт.

Выбрано товаров: 56