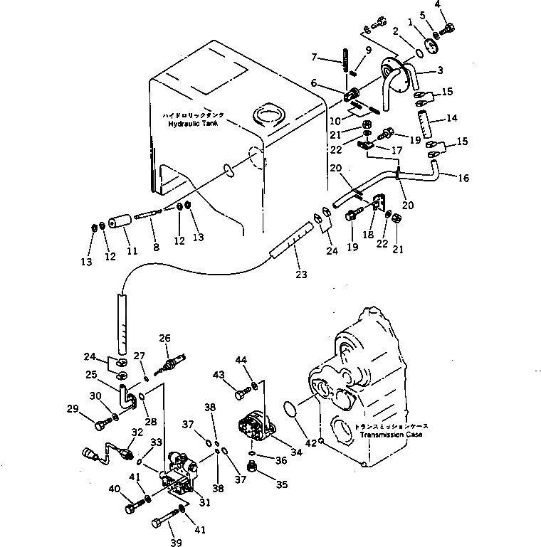
Запчасти Komatsu WA320-1 ГИДРОЛИНИЯ ЭКСТРЕННОГО УПРАВЛЕНИЯ (БАК - КЛАПАН) (ABE СПЕЦ-Я.)(№-) СПЕЦ. APPLICATION ЧАСТИ

Схема запчастей Komatsu WA320-1 - ГИДРОЛИНИЯ ЭКСТРЕННОГО УПРАВЛЕНИЯ (БАК - КЛАПАН) (ABE СПЕЦ-Я.)(№-) СПЕЦ. APPLICATION ЧАСТИ
FIT
1:1
100%

Артикул

Название

Примечание

Количество

1

421-875-1560

PLATE

SN: 20001-UP

1шт.

2

07000-02060

O-RING

SN: 20001-UP

1шт.

3

419-875-1630

COVER

SN: 20001-UP

1шт.

4

01010-50825

BOLT

SN: 20001-UP

5шт.

5

01643-30823

WASHER

SN: 20001-UP

5шт.

|$5

421-875-1600

VALVE ASS'Y

SN: 20001-UP

1шт.

6

421-875-1610

BODY

SN: 20001-UP

1шт.

7

421-875-1620

SPOOL

SN: 20001-UP

1шт.

8

421-875-1630

ARM

SN: 20001-UP

1шт.

9

04025-00308

PIN,SPRING

SN: 20001-UP

1шт.

10

04025-00324

PIN,SPRING

SN: 20001-UP

2шт.

11

421-875-1640

FLOAT

SN: 20001-UP

1шт.

12

01641-21016

WASHER

SN: 20001-UP

2шт.

13

04064-01010

RING,SNAP

SN: 20001-UP

2шт.

14

07260-03216

HOSE

SN: 20001-UP

1шт.

15

07281-00489

CLAMP

SN: 20001-UP

4шт.

16

419-875-1640

TUBE

SN: 20001-UP

1шт.

17

419-875-1650

PLATE

SN: 20001-UP

1шт.

18

419-875-1660

PLATE

SN: 20001-UP

1шт.

19

01435-01020

BOLT

SN: 20001-UP

4шт.

20

07283-23442

CLIP

SN: 20001-UP

2шт.

21

01599-01011

NUT

SN: 20001-UP

4шт.

22

01643-31032

WASHER

SN: 20001-UP

4шт.

23

07260-03265

HOSE

SN: 20001-UP

1шт.

24

07281-00489

CLAMP

SN: 20001-UP

4шт.

25

419-875-1251

TUBE

SN: 20001-UP

1шт.

26

421-06-11990

SWITCH,FLOW

SN: 20001-UP

1шт.

27

20D-62-17150

O-RING

SN: 20001-UP

1шт.

28

07000-03042

O-RING

SN: 20001-UP

1шт.

29

01010-31035

BOLT

SN: 20001-UP

4шт.

30

01643-31032

WASHER

SN: 20001-UP

4шт.

31

421-875-1101

DIVIDER VALVE ASS'Y

SN: 20001-UP

1шт.

32

421-06-11980

SWITCH,LIMIT DIVIDER VALVE

SN: 20001-UP

1шт.

33

07002-02034

O-RING

SN: 20001-UP

1шт.

34

704-30-29110

PUMP ASS'Y

SN: 20001-UP

1шт.

35

07040-12012

PLUG

SN: 20001-UP

1шт.

36

07002-02034

O-RING

SN: 20001-UP

1шт.

37

07000-13040

O-RING

SN: 20001-UP

2шт.

38

07000-02012

O-RING

SN: 20001-UP

2шт.

39

01010-31085

BOLT

SN: 20001-UP

2шт.

40

01011-31045

BOLT

SN: 20001-UP

2шт.

41

01643-31032

WASHER

SN: 20001-UP

4шт.

42

07000-02105

O-RING

SN: 20001-UP

1шт.

43

01010-31235

BOLT

SN: 20001-UP

2шт.

44

01643-31232

WASHER

SN: 20001-UP

2шт.

Выбрано товаров: 45