Запчасти Komatsu WA320-1 ЗАДН. РАМА (TBG/ABE СПЕЦ-Я.)(№-) СПЕЦ. APPLICATION ЧАСТИ

Схема запчастей Komatsu WA320-1 - ЗАДН. РАМА (TBG/ABE СПЕЦ-Я.)(№-) СПЕЦ. APPLICATION ЧАСТИ
FIT
1:1
100%

Артикул

Название

Примечание

Количество

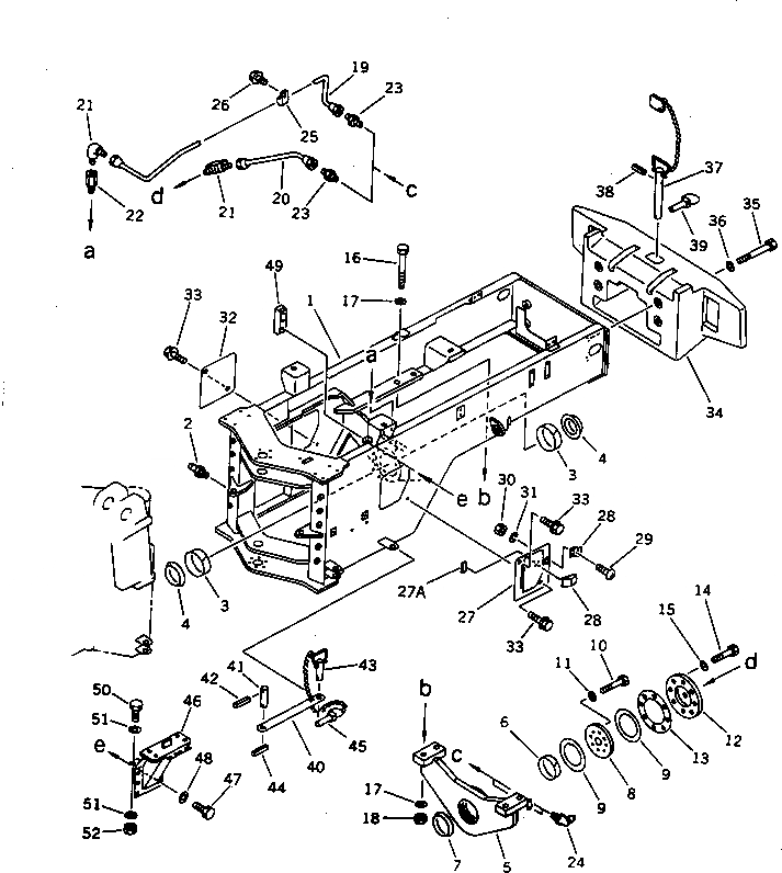
1

419-46-12800

FRAME,REAR

SN: 20001-UP

1шт.

2

07020-00000

FITTING,GREASE

SN: 10001-UP

2шт.

3

419-46-12180

PACKING

SN: 10001-UP

2шт.

4

419-46-12480

PACKING

SN: 10329-UP

2шт.

5

419-46-12135

SUPPORT,REAR

SN: 20001-UP

1шт.

6

419-46-12390

PACKING

SN: 10001-UP

1шт.

7

419-46-12490

PACKING

SN: 10329-UP

1шт.

8

419-46-12380

PLATE,THRUST

SN: 10001-UP

1шт.

9

419-46-12450

WASHER,THRUST

SN: 10001-UP

2шт.

10

01010-31660

BOLT

SN: 10001-UP

8шт.

11

01643-31645

WASHER

SN: 10001-UP

8шт.

12

424-46-12191

COVER

SN: 10001-UP

1шт.

13

419-46-12321

SHIM, 0.2MM

SN: 10001-UP

3шт.

14

01010-31655

BOLT

SN: 10001-UP

8шт.

15

01643-31645

WASHER

SN: 10001-UP

8шт.

16

01011-32420

BOLT

SN: 20001-UP

4шт.

17

01643-32460

WASHER

SN: 10001-UP

8шт.

18

01580-02419

NUT

SN: 10001-UP

4шт.

19

419-46-18151

TUBE

SN: 20001-UP

1шт.

20

419-46-18123

TUBE

SN: 20001-UP

1шт.

21

07217-50510

ELBOW

SN: 10001-UP

2шт.

22

423-46-11140

NIPPLE

SN: 20001-UP

1шт.

23

07214-50510

CONNECTOR

SN: 10001-UP

2шт.

24

07020-00675

FITTING,GREASE

SN: 10001-UP

2шт.

25

08036-10814

CLIP

SN: 10001-UP

1шт.

26

01435-01016

BOLT

SN: 20001-UP

1шт.

27

419-46-12361

COVER

SN: 20001-UP

1шт.

27A

421-09-12780

CUSHION

SN: 10530-UP

-2шт.

28

421-09-12321

HOLDER

SN: 10001-UP

1шт.

29

01220-40412

SCREW

SN: 10001-UP

5шт.

30

01580-10403

NUT

SN: 10001-UP

5шт.

31

01601-20410

WASHER,SPRING

SN: 10001-UP

5шт.

32

418-46-12221

PLATE,R.H.

SN: 10513-UP

1шт.

33

01435-01225

BOLT

SN: 20001-UP

4шт.

34

419-46-13141

WEIGHT,COUNTER

SN: 20001-UP

1шт.

35

421-975-1130

BOLT

SN: 10001-UP

4шт.

36

419-09-11411

WASHER

SN: 10093-UP

4шт.

37

419-46-13122

PIN

SN: 10540-UP

1шт.

38

04025-01000

PIN,SPRING

SN: 10001-UP

1шт.

39

426-46-12280

PIN,LINCH

SN: 10001-UP

1шт.

40

421-46-12880

BAR,LOCK

SN: 10001-UP

1шт.

41

421-46-12721

PIN

SN: 10001-UP

1шт.

42

04025-01065

PIN,SPRING

SN: 10001-UP

1шт.

43

419-46-14110

PIN

SN: 10001-UP

1шт.

44

04025-01065

PIN,SPRING

SN: 20001-UP

1шт.

45

421-46-12750

PIN,LINCH

SN: 10001-UP

1шт.

46

419-928-1110

SUPPORT

SN: 20001-UP

2шт.

47

01010-52475

BOLT

SN: 20001-UP

12шт.

48

01643-32460

WASHER

SN: 20001-UP

12шт.

49

419-928-1230

PLATE

SN: 20001-UP

4шт.

50

01010-52055

BOLT

SN: 20001-UP

2шт.

51

01643-32060

WASHER

SN: 20001-UP

2шт.

52

01580-12016

NUT

SN: 20001-UP

2шт.

Выбрано товаров: 53