Запчасти Komatsu WA320-1 ГИДР. БАК. (TBG/ABE СПЕЦ-Я.)(№-9999) СПЕЦ. APPLICATION ЧАСТИ

Схема запчастей Komatsu WA320-1 - ГИДР. БАК. (TBG/ABE СПЕЦ-Я.)(№-9999) СПЕЦ. APPLICATION ЧАСТИ
FIT
1:1
100%

Артикул

Название

Примечание

Количество

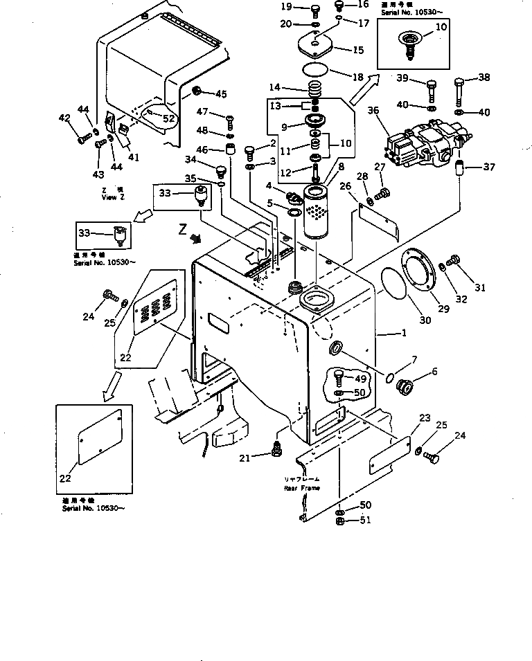
1

419-60-15713

TANK

SN: 10001-19999

1шт.

2

01010-51625

BOLT

SN: 10001-19999

1шт.

3

01643-31645

WASHER

SN: 10001-19999

1шт.

4

07092-01000

CAP

SN: 10001-19999

1шт.

5

07051-00003

GASKET

SN: 10001-19999

1шт.

6

421-60-11620

GAUGE

SN: 10001-19999

1шт.

7

07002-05234

O-RING

SN: 10001-19999

1шт.

8

07063-01100

ELEMENT

SN: 10001-19999

1шт.

9

419-60-15190

RETAINER

SN: 10001-10529

1шт.

10

419-60-15330

VALVE

SN: 10530-@

1шт.

10

145-60-17170

VALVE

SN: 10001-10529

2шт.

11

135-60-17110

SPRING

SN: 10001-10529

1шт.

12

419-60-15180

BOLT

SN: 10001-10529

1шт.

13

01580-00806

NUT

SN: 10001-10529

2шт.

14

145-60-17150

SPRING

SN: 10001-19999

1шт.

15

421-60-11240

PLATE

SN: 10001-19999

1шт.

16

424-60-15150

PLUG

SN: 10001-19999

1шт.

17

07000-02010

O-RING

SN: 10001-19999

1шт.

18

07000-15150

O-RING

SN: 10001-19999

1шт.

19

01010-51230

BOLT

SN: 10001-19999

2шт.

20

01643-31232

WASHER

SN: 10001-19999

2шт.

21

424-01-11110

PLUG

SN: 10001-19999

1шт.

22

419-Z90-1670

PLATE

SN: 10325-@

1шт.

22

0

PLATE

SN: 10001-10324

1шт.

23

419-60-15141

PLATE

SN: 10001-19999

1шт.

24

01010-51225

BOLT

SN: 10001-19999

5шт.

25

01643-31232

WASHER

SN: 10001-19999

5шт.

26

419-60-15170

COVER

SN: 10001-19999

1шт.

27

01010-51220

BOLT

SN: 10001-19999

2шт.

28

01643-31232

WASHER

SN: 10001-19999

2шт.

29

421-60-11121

COVER

SN: 10001-19999

1шт.

30

07000-05200

O-RING

SN: 10001-19999

1шт.

31

01010-51025

BOLT

SN: 10001-19999

6шт.

32

01643-31032

WASHER

SN: 10001-19999

6шт.

33

419-60-15231

BREATHER ASS'Y

SN: 10530-@

1шт.

33

419-60-15230

BREATHER ASS'Y

SN: 10001-10529

1шт.

33

285-62-17320

ELEMENT

SN: 10530-@

1шт.

33

419-60-15240

BODY

SN: 10001-10529

1шт.

33

419-60-15370

O-RING

SN: 10530-@

2шт.

33

419-60-15270

O-RING

SN: 10001-10529

1шт.

33

419-60-15380

O-RING

SN: 10530-@

1шт.

33

419-60-15250

ELEMENT

SN: 10001-10529

1шт.

33

419-60-15390

O-RING

SN: 10530-@

1шт.

33

419-60-15260

COVER

SN: 10001-10529

1шт.

33

424-60-15220

RING,SNAP

SN: 10530-@

1шт.

33

419-60-15280

NUT

SN: 10001-10529

1шт.

33

419-60-15290

WASHER,SPRING

SN: 10001-10529

1шт.

33

419-60-15310

WASHER

SN: 10001-10529

1шт.

34

07040-10807

PLUG

SN: 10001-19999

2шт.

35

07002-00823

O-RING

SN: 10001-19999

2шт.

36

700-92-14002

VALVE ASS'Y

SN: 10001-19999

1шт.

37

419-64-13110

SPACER

SN: 10001-19999

1шт.

38

01011-51245

BOLT

SN: 10001-19999

1шт.

39

01010-51280

BOLT

SN: 10001-19999

2шт.

40

01643-31232

WASHER

SN: 10001-19999

3шт.

41

421-09-12320

HOLDER

SN: 10001-19999

1шт.

42

01220-40412

SCREW

SN: 10001-19999

3шт.

43

01220-40406

SCREW

SN: 10001-19999

2шт.

44

01601-20410

WASHER,SPRING

SN: 10001-19999

5шт.

45

01580-10403

NUT

SN: 10001-19999

3шт.

46

418-60-15150

STOPPER

SN: 10001-19999

1шт.

47

01220-40630

SCREW

SN: 10001-19999

1шт.

48

01602-20619

WASHER,SPRING

SN: 10001-19999

1шт.

49

01010-31650

BOLT

SN: 10001-19999

6шт.

50

01643-31645

WASHER

SN: 10001-19999

10шт.

51

01580-11613

NUT

SN: 10001-19999

4шт.

52

421-09-12780

CUSHION

SN: 10530-@

1шт.

Выбрано товаров: 67