Запчасти Komatsu WA320-1 ГИДР. БАК. (TBG/ABE СПЕЦ-Я.)(№-) СПЕЦ. APPLICATION ЧАСТИ

Схема запчастей Komatsu WA320-1 - ГИДР. БАК. (TBG/ABE СПЕЦ-Я.)(№-) СПЕЦ. APPLICATION ЧАСТИ
FIT
1:1
100%

Артикул

Название

Примечание

Количество

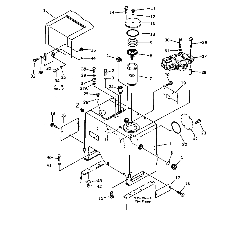
1

419-60-15410

TANK

SN: 20001-UP

1шт.

2

01010-51625

BOLT

SN: 10001-UP

1шт.

3

01643-31645

WASHER

SN: 10001-UP

1шт.

4

07092-01000

CAP

SN: 10001-UP

1шт.

4

07051-00003

GASKET

SN: 10001-UP

1шт.

5

421-60-11622

GAUGE,SIGHT

SN: 10001-UP

1шт.

6

07002-05234

O-RING

SN: 10001-UP

1шт.

7

07063-01142

ELEMENT

SN: 20001-UP

1шт.

8

195-60-16300

VALVE ASS'Y

SN: 20001-UP

1шт.

9

195-60-16330

SPRING

SN: 20001-UP

1шт.

10

419-60-15350

COVER

SN: 20001-UP

1шт.

11

424-60-15150

PLUG

SN: 10001-UP

1шт.

12

07000-02010

O-RING

SN: 10001-UP

1шт.

13

07000-05175

O-RING

SN: 20001-UP

1шт.

14

01435-01225

BOLT

SN: 20001-UP

2шт.

15

424-01-11110

PLUG

SN: 10001-UP

1шт.

16

419-Z90-1670

PLATE

SN: 10325-UP

1шт.

17

419-60-15141

PLATE

SN: 10001-UP

1шт.

18

01435-01225

BOLT

SN: 20001-UP

5шт.

19

419-60-15171

COVER

SN: 20001-UP

1шт.

20

01435-01220

BOLT

SN: 20001-UP

2шт.

21

419-60-15340

PLATE

SN: 20001-UP

1шт.

22

07000-05200

O-RING

SN: 10001-UP

1шт.

23

01435-01020

BOLT

SN: 20001-UP

6шт.

24

419-60-15231

BREATHER ASS'Y

SN: 10530-UP

1шт.

24

285-62-17320

ELEMENT

SN: 10530-UP

1шт.

24

419-60-15370

O-RING

SN: 10530-UP

2шт.

24

419-60-15380

O-RING

SN: 10530-UP

1шт.

24

419-60-15390

O-RING

SN: 10530-UP

1шт.

24

424-60-15220

RING,SNAP

SN: 10530-UP

1шт.

25

07040-10807

PLUG

SN: 10001-UP

2шт.

26

07002-00823

O-RING

SN: 10001-UP

2шт.

27

700-92-14002

VALVE ASS'Y

SN: 10001-UP

1шт.

28

419-64-13110

SPACER

SN: 10001-UP

1шт.

29

01435-01280

BOLT

SN: 20001-UP

2шт.

30

01011-51245

BOLT

SN: 10001-UP

1шт.

31

01643-31232

WASHER

SN: 20001-UP

1шт.

32

421-09-12320

HOLDER

SN: 10001-UP

1шт.

33

01220-40412

SCREW

SN: 10001-UP

3шт.

34

01220-40406

SCREW

SN: 10001-UP

2шт.

35

01601-20410

WASHER,SPRING

SN: 10001-UP

3шт.

36

01580-10403

NUT

SN: 10001-UP

3шт.

37

418-60-15150

STOPPER

SN: 10001-UP

1шт.

37A

175-54-34170

WASHER

SN: 20001-UP

1шт.

38

01220-40630

SCREW

SN: 10001-UP

1шт.

39

01602-20619

WASHER,SPRING

SN: 10001-UP

1шт.

40

01010-31650

BOLT

SN: 10001-UP

6шт.

41

01643-31645

WASHER

SN: 20001-UP

12шт.

42

01580-01613

NUT

SN: 20001-UP

6шт.

43

418-46-12310

SHIM, 1.0MM

SN: 20001-UP

10шт.

44

421-09-12780

CUSHION

SN: 10530-UP

1шт.

Выбрано товаров: 51