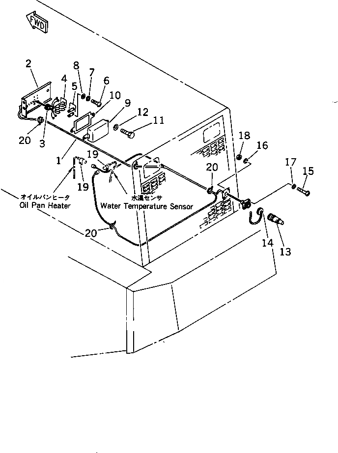
Запчасти Komatsu WA320-1 МАСЛ. ОБОГРЕВАТЕЛЬ. (МОРОЗОУСТОЙЧИВ. СПЕЦИФИКАЦИЯ.)(№-) КОМПОНЕНТЫ ДВИГАТЕЛЯ И ЭЛЕКТРИКА

Схема запчастей Komatsu WA320-1 - МАСЛ. ОБОГРЕВАТЕЛЬ. (МОРОЗОУСТОЙЧИВ. СПЕЦИФИКАЦИЯ.)(№-) КОМПОНЕНТЫ ДВИГАТЕЛЯ И ЭЛЕКТРИКА
FIT
1:1
100%

Артикул

Название

Примечание

Количество

1

418-Z91-1240

WIRE ASS'Y

SN: 20001-UP

1шт.

2

419-Z91-1150

BRACKET

SN: 20001-UP

1шт.

3

08037-01008

GROMMET

SN: 20001-UP

1шт.

4

426-Z91-1110

HOLDER

SN: 20001-UP

2шт.

5

425-Z91-1220

FUSE, 15A

SN: 20001-UP

2шт.

6

01220-40520

SCREW

SN: 20001-UP

2шт.

7

01601-20513

WASHER,SPRING

SN: 20001-UP

2шт.

8

01641-20508

WASHER

SN: 20001-UP

2шт.

9

421-Z91-1310

BOX,FUSE

SN: 20001-UP

1шт.

10

421-Z91-1320

SHEET

SN: 20001-UP

1шт.

11

01010-51025

BOLT

SN: 20001-UP

2шт.

12

01643-31032

WASHER

SN: 20001-UP

2шт.

13

425-06-11250

PLUG

SN: 20001-UP

1шт.

14

175-06-39830

CAP

SN: 20001-UP

1шт.

15

01220-40316

SCREW

SN: 20001-UP

4шт.

16

01601-20307

WASHER,SPRING

SN: 20001-UP

4шт.

17

01641-20305

WASHER

SN: 20001-UP

4шт.

18

01580-10302

NUT

SN: 20001-UP

4шт.

19

423-06-12640

CLIP

SN: 20001-UP

2шт.

20

08034-00414

BAND

SN: 20001-UP

4шт.

Выбрано товаров: 20