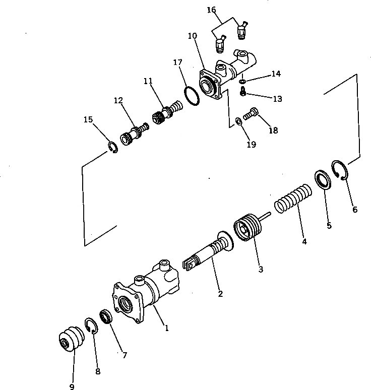
Запчасти Komatsu WA320-1 УСИЛИТЕЛЬ И ГЛАВН. ЦИЛИНДР(№-9999) ВЕДУЩ. ВАЛ¤ ДИФФЕРЕНЦ. И КОЛЕСА

Схема запчастей Komatsu WA320-1 - УСИЛИТЕЛЬ И ГЛАВН. ЦИЛИНДР(№-9999) ВЕДУЩ. ВАЛ¤ ДИФФЕРЕНЦ. И КОЛЕСА
FIT
1:1
100%

Артикул

Название

Примечание

Количество

|$0

419-44-12101

CYLINDER ASS'Y,BOOSTER AND MASTER

SN: 10001-19999

1шт.

1

419-44-12201

CYLINDER ASS'Y,BOOSTER

SN: 10001-19999

1шт.

2

419-44-12111

VALVE ASS'Y,SIGNAL

SN: 10001-19999

1шт.

3

419-44-12120

PISTON ASS'Y

SN: 10001-19999

1шт.

4

419-44-12230

SPRING

SN: 10001-19999

1шт.

5

419-44-12360

WASHER

SN: 10001-19999

1шт.

6

04065-07025

RING,SNAP

SN: 10001-19999

1шт.

7

419-44-12210

SEAL,OIL (KIT)

SN: 10001-19999

1шт.

8

419-44-12220

RING,SNAP (KIT)

SN: 10001-19999

1шт.

9

419-44-12310

COVER (KIT)

SN: 10001-19999

1шт.

10

419-44-12300

CYLINDER ASS'Y,MASTER

SN: 10001-19999

1шт.

11

419-44-12510

PISTON,PRIMARY (KIT)

SN: 10001-19999

1шт.

12

419-44-12610

PISTON,SCONDERY (KIT)

SN: 10001-19999

1шт.

13

419-44-12530

STOPPER

SN: 10001-19999

1шт.

14

419-44-12520

PACKING (KIT)

SN: 10001-19999

1шт.

15

419-44-12560

RING,SNAP (KIT)

SN: 10001-19999

1шт.

16

419-44-12550

CONNECTOR

SN: 10001-19999

2шт.

17

07000-12065

O-RING (KIT)

SN: 10001-19999

1шт.

18

01010-51035

BOLT

SN: 10001-19999

4шт.

19

01643-31032

WASHER

SN: 10001-19999

4шт.

Выбрано товаров: 20