Запчасти Komatsu WA320-1 НАКАЧИВАНИЕ ШИН (/)(№-9999) ВЕДУЩ. ВАЛ¤ ДИФФЕРЕНЦ. И КОЛЕСА

Схема запчастей Komatsu WA320-1 - НАКАЧИВАНИЕ ШИН (/)(№-9999) ВЕДУЩ. ВАЛ¤ ДИФФЕРЕНЦ. И КОЛЕСА
FIT
1:1
100%

Артикул

Название

Примечание

Количество

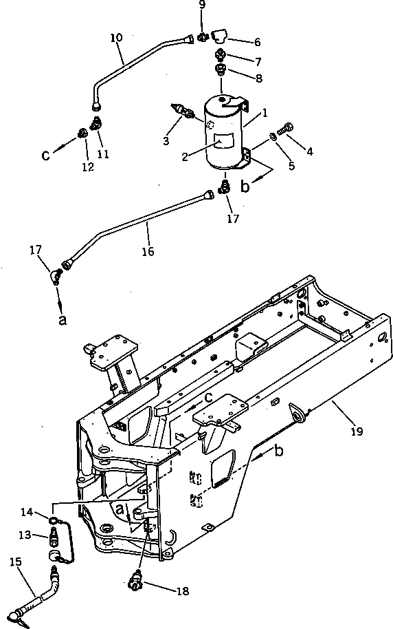
1

419-U83-1111

RESERVOIR

SN: 10001-19999

1шт.

2

09152-03000

PLATE, SAFETY

SN: 10001-@

1шт.

3

566-35-42350

VALVE,SAFETY

SN: 10001-@

1шт.

4

01010-51025

BOLT

SN: 10001-19999

4шт.

5

01643-31032

WASHER

SN: 10001-19999

4шт.

6

07324-10100

TEE

SN: 10001-19999

1шт.

7

07325-10100

NIPPLE

SN: 10001-19999

1шт.

8

283-35-11120

ADAPTER

SN: 10001-@

1шт.

9

07214-50710

CONNECTOR

SN: 10001-@

1шт.

10

418-Z66-1130

TUBE

SN: 10001-19999

1шт.

11

07217-50712

ELBOW

SN: 10001-19999

1шт.

12

202-62-21330

BUSHING

SN: 10001-@

1шт.

13

07880-10500

SOCKET

SN: 10001-@

1шт.

14

426-35-15410

CAP

SN: 10001-@

1шт.

15

09288-00005

HOSE

SN: 10001-@

1шт.

16

418-Z66-1140

TUBE

SN: 10001-19999

1шт.

17

07217-50712

ELBOW

SN: 10001-19999

2шт.

18

565-44-12700

VALVE ASS'Y

SN: 10001-@

1шт.

19

419-Z66-1210

FRAME,REAR (MODIFIED PART)

SN: 10001-19999

1шт.

Выбрано товаров: 19