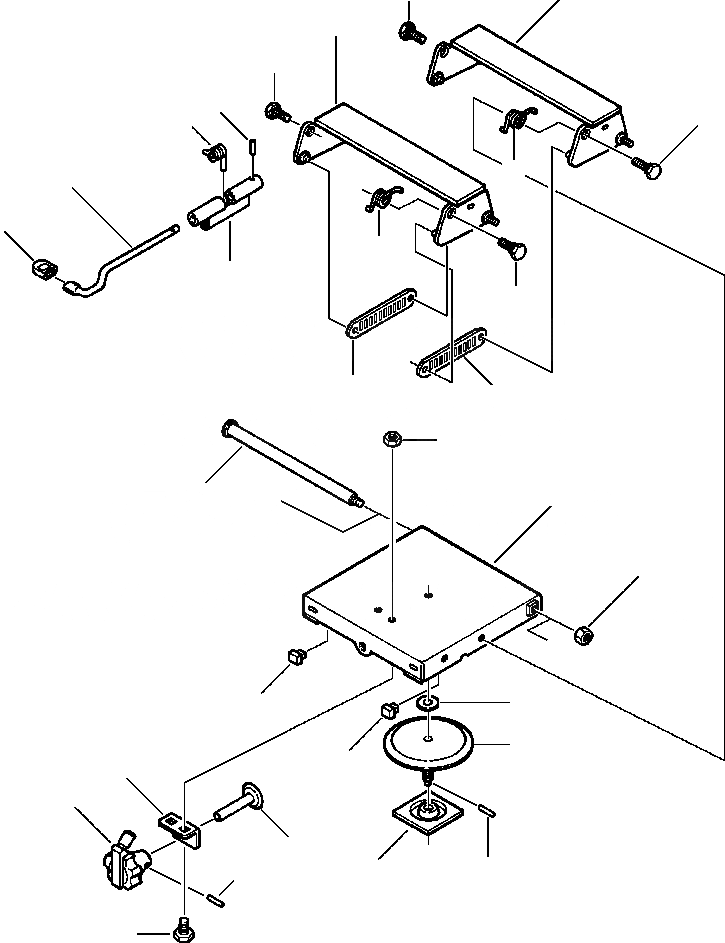
Запчасти Komatsu WA320-1LC СИДЕНЬЕ ОПЕРАТОРА ПОДВЕСКА ASSEMBLY (SEARS MANUFACTURING) РАМА, ЧАСТИ КОРПУСА & SUPERSTRUCTURE

Схема запчастей Komatsu WA320-1LC - СИДЕНЬЕ ОПЕРАТОРА ПОДВЕСКА ASSEMBLY (SEARS MANUFACTURING) РАМА, ЧАСТИ КОРПУСА & SUPERSTRUCTURE
33
36
33
36
39
35
36
40
34
41
40
38
36
37
37
31
27
32
28
16
25
6
25
9
11
8
29
5
7
30
FIT
1:1
100%

Артикул

Название

Примечание

Количество

|$0

423-57-A1120

SUSPENSION ASSEMBLY

1шт.

1

NSS

ADJUSTER, SEAT

1шт.

2

NSS

PIN, ROLL

1шт.

3

NSS

PAD, SPRING

1шт.

4

423-57-A1210

SPRING CONICAL

1шт.

5

NSS

WASHER, SPRING

1шт.

6

NSS

GEAR AND SHAFT, VERTICAL

1шт.

7

NSS

PIN, ROLL

1шт.

8

NSS

GEAR AND SHAFT, HORIZONTAL

1шт.

9

NSS

BRACKET, SHAFT

1шт.

10

NSS

ARM, SUSPENSION

1шт.

11

NSS

KNOB, WEIGHT ADJUSTMENT

1шт.

12

NSS

PRODUCT GRAPHIC, INSTRUCTION

1шт.

13

NSS

BUSHING, TUBE

4шт.

14

NSS

BOOT, SUSPENSION

1шт.

15

NSS

FASTENER, PUSH ON

23шт.

16

NSS

WASHER, THRUST

1шт.

17

NSS

BUMPER, SLIDER

1шт.

18

NSS

BUMPER, SLIDER

1шт.

19

NSS

BUMPER, SLIDER

1шт.

20

NSS

BUMPER, SLIDER

1шт.

21

NSS

ABSORBER, SHOCK

1шт.

22

NSS

BUSHING, SHOCK ABSORBER

2шт.

23

NSS

BOLT, SHOULDER

1шт.

24

NSS

NUT, LOCK

1шт.

25

NSS

BUMPER, SLIDE

2шт.

26

NSS

INDICATOR, RIDE

1шт.

27

NSS

SHAFT, MOUNTING

2шт.

28

NSS

NUT, LOCK

2шт.

29

NSS

PIN, ROLL

1шт.

30

NSS

BOLT, CARRIAGE

2шт.

31

NSS

NUT, LOCK

2шт.

32

NSS

HOUSING, UPPER

1шт.

33

NSS

LINK

2шт.

34

NSS

LEVER, HEIGHT ADJUSTMENT

1шт.

35

NSS

SPRING

1шт.

36

NSS

BOLT, 1/2NC X 1 - SHOULDER

4шт.

37

NSS

LINK, CONNECTING

2шт.

38

NSS

LATCH ASSEMBLY

1шт.

39

NSS

PIN, COIL SPRING - 5/32 X 3/4

1шт.

40

NSS

SPRING

2шт.

41

NSS

CAP HEIGHT ADJUSTMENT

1шт.

|$42

423-57-A1130

BEARING KIT

1шт.

|$43

423-57-A1220

SPRING KIT

1шт.

|$44

423-57-A1250

BOOT KIT

1шт.

|$45

423-57-A1270

SHOCK KIT

1шт.

|$46

423-57-A1310

ADJUSTMENT KNOB KIT

1шт.

|$47

423-57-A1330

BEARING KIT

1шт.

|$60

-1шт.

|$49

F1 - ORDER BEARING KIT 423-57-A1130

-1шт.

|$61

-1шт.

|$51

F2 - ORDER SPRING KIT 423-57-A1220

-1шт.

|$62

-1шт.

|$53

F3 - ORDER BOOT KIT 423-57-A1250

-1шт.

|$63

-1шт.

|$55

F4 - ORDER SHOCK KIT 423-57-A1270

-1шт.

|$64

-1шт.

|$57

F5 - ORDER ADJ. KNOB KIT 423-57-A1310

-1шт.

|$65

-1шт.

|$59

F6 - ORDER BEARING KIT 423-57-A1330

-1шт.

|$66

-1шт.

Выбрано товаров: 61