Запчасти Komatsu WA320-3 ЭЛЕКТРИКА (УДАЛЕНН. ПОЗИЦИОНЕР КОВШАСИСТЕМА ЛИНИЯ) (/)(POTENTIOMETER ЭЛЕМЕНТЫ КРЕПЛЕНИЯ)(№-) КОМПОНЕНТЫ ДВИГАТЕЛЯ И ЭЛЕКТРИКА

Схема запчастей Komatsu WA320-3 - ЭЛЕКТРИКА (УДАЛЕНН. ПОЗИЦИОНЕР КОВШАСИСТЕМА ЛИНИЯ) (/)  (POTENTIOMETER ЭЛЕМЕНТЫ КРЕПЛЕНИЯ)(№-) КОМПОНЕНТЫ ДВИГАТЕЛЯ И ЭЛЕКТРИКА
FIT
1:1
100%

Артикул

Название

Примечание

Количество

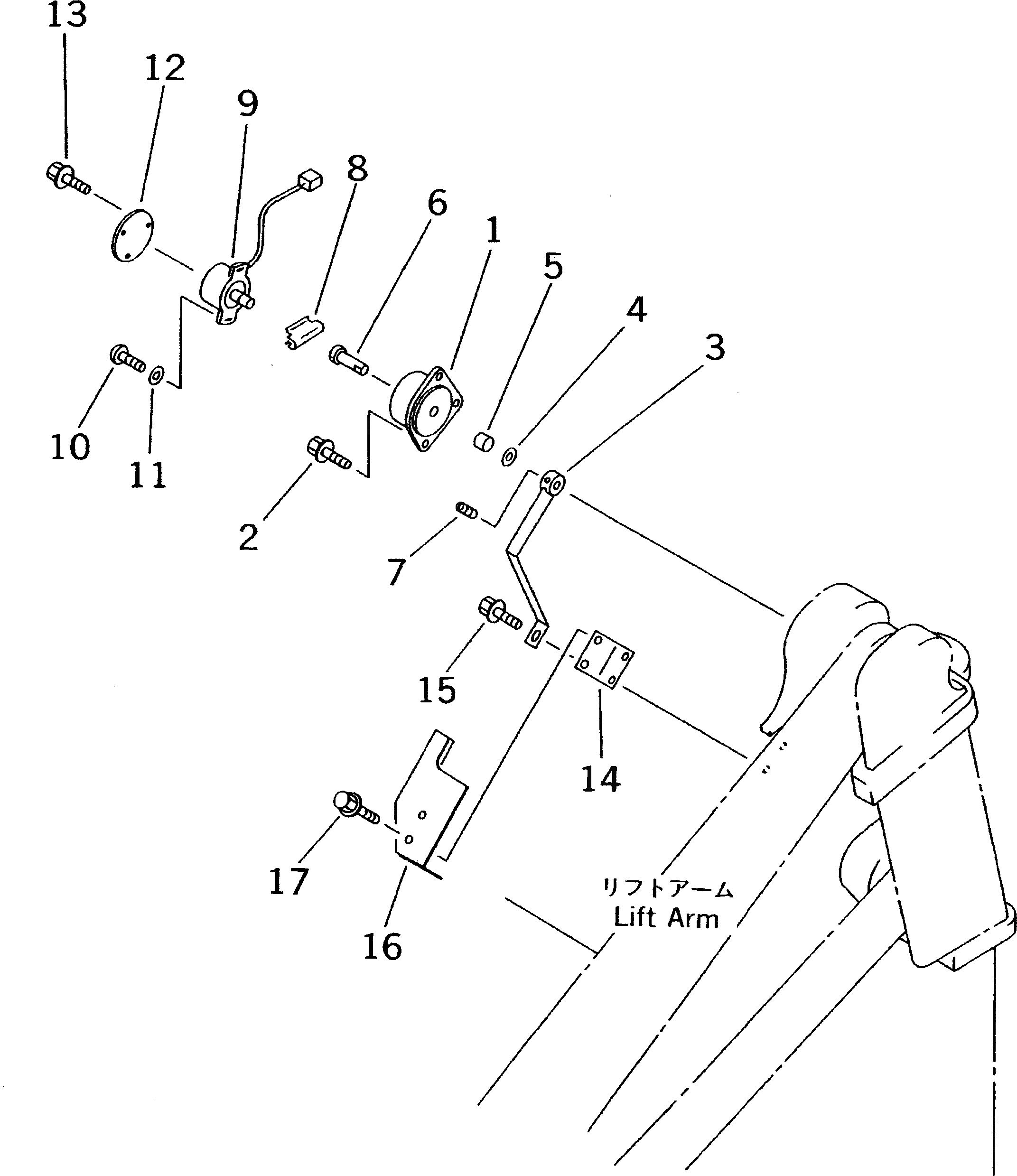
1

419-S30-2450

CASE

SN: 50001-UP

1шт.

2

01435-01225

BOLT

SN: 50001-UP

3шт.

3

421-S30-2680

LEVER

SN: 50001-UP

1шт.

4

421-64-15140

SHIM, 0.5MM

SN: 50001-UP

1шт.

5

06124-01416

BEARING

SN: 50001-UP

1шт.

6

421-S30-2250

SHAFT

SN: 50001-UP

1шт.

7

01315-20812

SCREW

SN: 50001-UP

2шт.

8

142-43-13180

SPRING

SN: 50001-UP

1шт.

9

22T-05-19120

POTENTIOMETER

SN: 50001-UP

1шт.

10

01220-40412

SCREW

SN: 50001-UP

2шт.

11

01641-20405

WASHER

SN: 50001-UP

2шт.

12

419-S30-2510

PLATE

SN: 50001-UP

1шт.

13

01435-01016

BOLT

SN: 50001-UP

3шт.

14

421-S30-2710

PLATE

SN: 50001-UP

1шт.

15

01435-01220

BOLT

SN: 50001-UP

2шт.

16

419-S30-2410

COVER

SN: 50001-UP

1шт.

17

01435-01220

BOLT

SN: 50001-UP

2шт.

Выбрано товаров: 17