Запчасти Komatsu WA320-3 ПРОБЛЕСК. МАЯК(№-) ЭЛЕКТРИКА

Схема запчастей Komatsu WA320-3 - ПРОБЛЕСК. МАЯК(№-) ЭЛЕКТРИКА
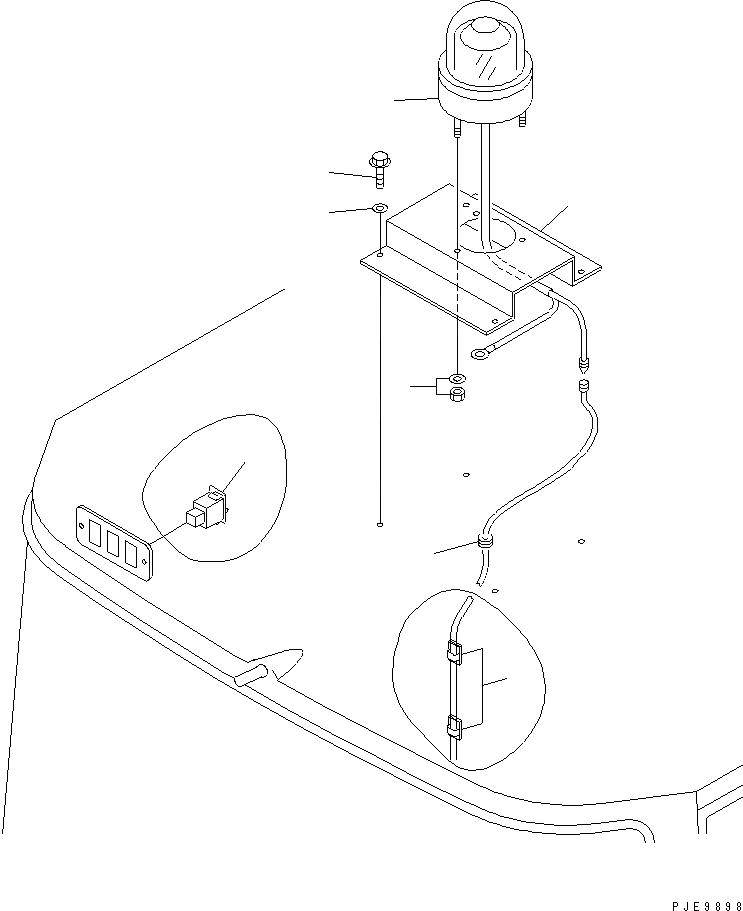
1
1
2
3
4
5
6
7
FIT
1:1
100%

Артикул

Название

Примечание

Количество

1

08154-72400

LAMP ASS'Y,BEACON

SN: 54001-UP

1шт.

1

08154-72455

BULB, 55W

SN: 54001-UP

1шт.

1

08154-70003

GLOBE

SN: 54001-UP

1шт.

2

416-957-2110

PLATE

SN: 54001-UP

1шт.

3

01435-00825

BOLT

SN: 54001-UP

4шт.

4

154-61-16570

WASHER

SN: 54001-UP

4шт.

5

423-975-1140

CAP

SN: 54001-UP

1шт.

6

423-958-2110

SWITCH,BEACON

SN: 54001-UP

1шт.

7

421-54-15520

CLIP

SN: 54001-UP

6шт.

Выбрано товаров: 9