Запчасти Komatsu WA320-3CS ОТСЕК ДВИГАТЕЛЯ(EIGINE КАПОТ РЕЗИН.) ЧАСТИ КОРПУСА

Схема запчастей Komatsu WA320-3CS - ОТСЕК ДВИГАТЕЛЯ(EIGINE КАПОТ РЕЗИН.) ЧАСТИ КОРПУСА
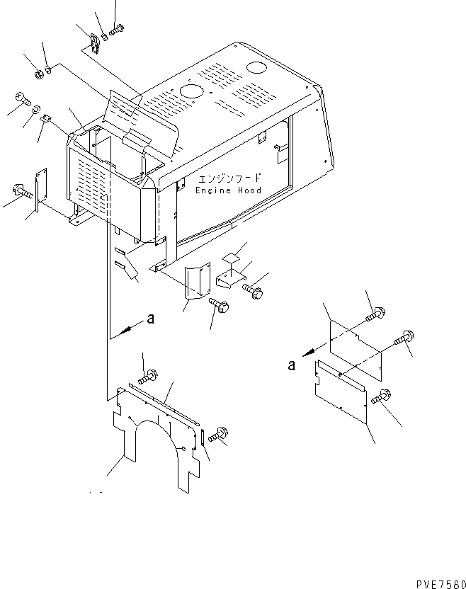
1
1
2
2
3
4
4
4
5
6
7
8
9
9
9
10
11
12
13
13
14
14
15
15A
16
16
16
FIT
1:1
100%

Артикул

Название

Примечание

Количество

1

421-09-12322

HOLDER

SN: 50001-UP

1шт.

2

01220-40412

SCREW

SN: 50001-UP

5шт.

3

01580-10403

NUT

SN: 50001-UP

5шт.

4

01601-20410

WASHER,SPRING

SN: 50001-UP

10шт.

5

421-54-21190

CUSHION

SN: 50001-UP

2шт.

6

421-09-12780

CUSHION,STRIP

SN: 50001-UP

3шт.

7

419-54-21640

COVER

SN: 50001-UP

1шт.

8

419-54-21631

COVER

SN: 50001-UP

1шт.

9

01435-01016

BOLT

SN: 50001-UP

7шт.

10

419-54-22531

SHEET

SN: 50220-UP

1шт.

10

0

SHEET

SN: 50001-50219

1шт.

11

419-54-21660

PLATE

SN: 50001-UP

1шт.

12

419-54-21730

PLATE

SN: 50001-UP

2шт.

13

01435-01020

BOLT

SN: 50001-UP

8шт.

14

423-54-21160

COVER

SN: 50001-UP

2шт.

15

419-54-24390

STEP

SN: 50001-UP

1шт.

15A

417-46-25120

PLATE

SN: 50161-UP

1шт.

16

01435-01220

BOLT

SN: 50001-UP

8шт.

Выбрано товаров: 18