Запчасти Komatsu WA320-3L FIG. H-A ПРИОРИТЕТН. КЛАПАН КРЕПЛЕНИЕ ГИДРАВЛИКА

Схема запчастей Komatsu WA320-3L - FIG. H-A ПРИОРИТЕТН. КЛАПАН КРЕПЛЕНИЕ ГИДРАВЛИКА
5
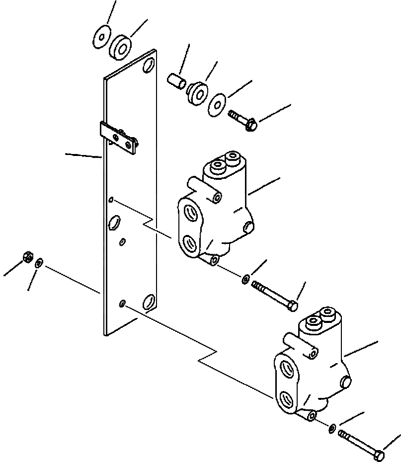
3
4
2
5
6
1
10
8
7
9
8
11
8
7
FIT
1:1
100%

Артикул

Название

Примечание

Количество

1

419-64-25310

BRACKET

SN: A30001--UP

1шт.

2

419-43-17930

CUSHION

SN: A30001--UP

3шт.

3

415-64-13130

CUSHION

SN: A30001--UP

3шт.

4

417-54-13470

SPACER

SN: A30001--UP

3шт.

5

415-64-13120

WASHER

SN: A30001--UP

6шт.

6

01435-01045

BOLT, BRACKET MOUNTING

SN: A30001--UP

3шт.

7

01010-50890

BOLT, PRIORITY VALVE MOUNTING

SN: A30001--UP

4шт.

8

01643-30823

WASHER

SN: A30001--UP

6шт.

9

01596-00807

NUT

SN: A30001--UP

2шт.

10

VALVE, PRIORITY - FOR STEERING (SEE FIG. H0122-03A0)

SN: A30001--UP

1шт.

11

VALVE, PRIORITY - FOR SWITCH (SEE FIG. H0122-05A0)

SN: A30001--UP

1шт.

Выбрано товаров: 11