Запчасти Komatsu WA320-3MC FIG NO. K8-A РАДИО AM/FM CASSETTE КАБИНА ОПЕРАТОРА И СИСТЕМА УПРАВЛЕНИЯ

Схема запчастей Komatsu WA320-3MC - FIG NO. K8-A РАДИО AM/FM CASSETTE КАБИНА ОПЕРАТОРА И СИСТЕМА УПРАВЛЕНИЯ
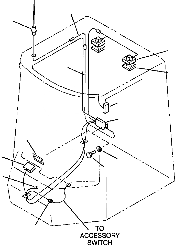
5
3
7
4
8
1
2
6
9
11
10
12
13
FIT
1:1
100%

Артикул

Название

Примечание

Количество

1

417-967-A030

MODULE/CRADLE, REMOTE CONTROL

1шт.

2

417-967-A010

MODULE, RADIO/STEREO

1шт.

3

417-967-A180

ANTENNA

1шт.

4

417-967-A190

EXTENSION, ANTENNA (48 INCH)

1шт.

5

417-967-A220

EXTENSION, ANTENNA (12 INCH)

1шт.

6

417-967-A150

PLATE, DIN MOUNTING

1шт.

7

417-967-A160

SPEAKER, H.D

2шт.

8

417-967-A170

GRILL, SPEAKER

2шт.

9

417-967-A040

CASSETTE DECK, AUTO REVERSE

1шт.

10

417-967-A090

SCREW

4шт.

11

01643-30623

WASHER

4шт.

12

08031-10206

TERMINAL

1шт.

13

08021-00400

CONNECTOR

2шт.

1

417-967-A030

MODULE/CRADLE, REMOTE CONTROL

1шт.

2

417-967-A010

MODULE, RADIO/STEREO

1шт.

3

417-967-A180

ANTENNA

1шт.

4

417-967-A190

EXTENSION, ANTENNA (48 INCH)

1шт.

5

417-967-A220

EXTENSION, ANTENNA (12 INCH)

1шт.

6

417-967-A150

PLATE, DIN MOUNTING

1шт.

7

417-967-A160

SPEAKER, H.D

2шт.

8

417-967-A170

GRILL, SPEAKER

2шт.

9

417-967-A040

CASSETTE DECK, AUTO REVERSE

1шт.

10

417-967-A090

SCREW

4шт.

11

01643-30623

WASHER

4шт.

12

08031-10206

TERMINAL

1шт.

13

08021-00400

CONNECTOR

2шт.

Выбрано товаров: 26