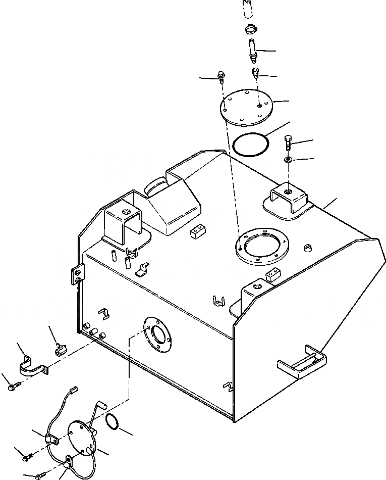
Запчасти Komatsu WA320-3MC FIG NO. D-A ТОПЛИВН. БАК. ASSEMBLY ТОПЛИВН. БАК. AND КОМПОНЕНТЫ

Схема запчастей Komatsu WA320-3MC - FIG NO. D-A ТОПЛИВН. БАК. ASSEMBLY ТОПЛИВН. БАК. AND КОМПОНЕНТЫ
12
13
4
2
3
14
15
1
5
6
7
11
10
9
8
9
11
FIT
1:1
100%

Артикул

Название

Примечание

Количество

1

419-04-A1210

TANK, FUEL

1шт.

2

421-04-11182

COVER

1шт.

3

07000-15200

O-RING

1шт.

4

01435-01020

BOLT

6шт.

5

363-04-11130

VALVE, DRAIN

1шт.

6

417-04-10140

COVER

1шт.

7

01435-00816

BOLT

2шт.

8

7861-92-4810

SENSOR, FUEL LEVEL

1шт.

9

01435-01016

BOLT

4шт.

10

07000-02085

O-RING

1шт.

11

04434-50610

CLIP

3шт.

12

421-62-A1440

NIPPLE

1шт.

13

07326-30201

ADAPTER

1шт.

14

01010-62455

BOLT

3шт.

15

01643-32460

WASHER

3шт.

Выбрано товаров: 15