Запчасти Komatsu WA320-5 ПРОТИВОВЕС (ДОПОЛН. ВЕС) (SUGAR CANE) ЧАСТИ КОРПУСАS И КРЫШКИ

Схема запчастей Komatsu WA320-5 - ПРОТИВОВЕС (ДОПОЛН. ВЕС) (SUGAR CANE) ЧАСТИ КОРПУСАS И КРЫШКИ
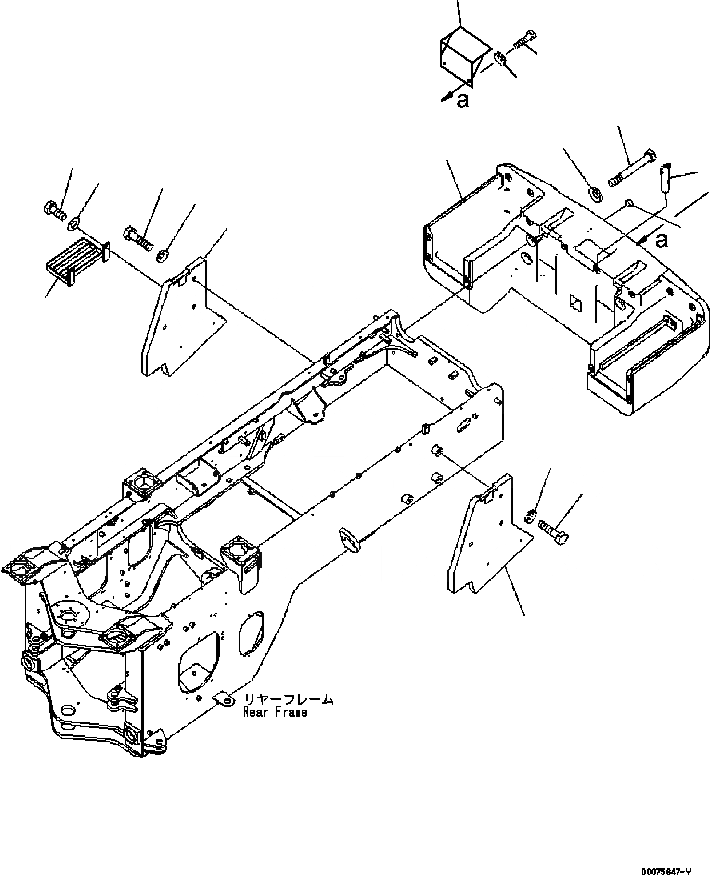
8A
6
7
5
9
10
8
1
3
13
12
2
4
11
10
9
14
FIT
1:1
100%

Артикул

Название

Примечание

Количество

1

419-46-35210

COUNTER WEIGHT

SN: B10001-UP

1шт.

2

01011-62480

BOLT

SN: B10001-UP

4шт.

3

01643-32060

WASHER

SN: B10001-UP

4шт.

4

418-46-35140

PIN

SN: B10001-UP

1шт.

5

418-04-31181

STEP

SN: B10001-UP

1шт.

6

01010-81235

BOLT

SN: B10001-UP

2шт.

7

01643-31232

WASHER

SN: B10001-UP

2шт.

8

419-975-3112

COUNTER WEIGHT

SN: B10254-UP

1шт.

|8

419-975-3112

COUNTER WEIGHT

SN: B10017-B10253

2шт.

8A

419-975-B110

COUNTER WEIGHT

SN: B10254-UP

1шт.

9

01010-82090

BOLT

SN: B10001-UP

4шт.

10

01643-32060

WASHER

SN: B10001-UP

4шт.

11

07049-01012

PLUG

SN: B10001-UP

4шт.

12

419-54-B5550

PLATE

SN: B10275-UP

1шт.

13

01010-81020

BOLT

SN: B10275-UP

2шт.

14

01643-31032

WASHER

SN: B10275-UP

2шт.

Выбрано товаров: 16