Запчасти Komatsu WA320-5 КОВШ .M (С РЕЖУЩ. КРОМКОЙ НА БОЛТАХ .7M) РАБОЧЕЕ ОБОРУДОВАНИЕ

Схема запчастей Komatsu WA320-5 - КОВШ .M (С РЕЖУЩ. КРОМКОЙ НА БОЛТАХ .7M) РАБОЧЕЕ ОБОРУДОВАНИЕ
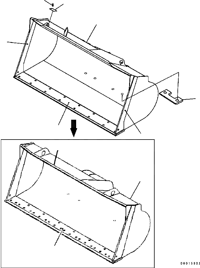
4
5
3
2
1
1A
4
2
3
FIT
1:1
100%

Артикул

Название

Примечание

Количество

|1

419-70-B4101

BUCKET ASS'Y

SN: B10235-UP

1шт.

|1

419-70-B4100

BUCKET ASS'Y

SN: B10001-B10234

1шт.

1

416-70-22190

PLATE NAME (LIMITED SUPPLY)

SN: B10001-UP

1шт.

1A

04418-13060

SCREW

SN: B10021-UP

4шт.

2

419-70-B4111

BUCKET

SN: B10235-UP

1шт.

|2

419-70-B4110

BUCKET

SN: B10001-B10234

1шт.

3

419-T65-2120

EDGE

SN: B10235-UP

1шт.

|3

419-70-12221

EDGE

SN: B10001-B10234

1шт.

4

419-70-B4140

PLATE

SN: B10001-UP

2шт.

5

419-70-B3270

PLATE {WELDED}

SN: B10001-UP

2шт.

Выбрано товаров: 10