Запчасти Komatsu WA320-5 МОТОР (/7) (С ORIFICE) (№B9-) ОСНОВН. КОМПОНЕНТЫ И РЕМКОМПЛЕКТЫ

Схема запчастей Komatsu WA320-5 - МОТОР (/7) (С ORIFICE) (№B9-) ОСНОВН. КОМПОНЕНТЫ И РЕМКОМПЛЕКТЫ
5
2
4
3
1
FIT
1:1
100%

Артикул

Название

Примечание

Количество

|1

419-18-41301

MOTOR

SN: B10606-UP

1шт.

|1

0

MOTOR

SN: B10349-B10605

1шт.

|$1

THIS ASSEMBLY CONSISTS OF ALL PARTS SHOWN IN FIGS.Y1651-01A1A TO Y1651-07A1A.

-1шт.

|1

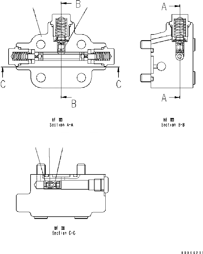
UCR902115809

FLASHING VALVE

SN: B10349-UP

1шт.

1

UCR902115773

FLASHING VALVE

SN: B10349-UP

1шт.

2

UC1704258687

ORIFICE

SN: B10349-UP

1шт.

3

UC1704196974

ORIFICE

SN: B10349-UP

1шт.

4

UC1704002631

GUIDE

SN: B10349-UP

1шт.

5

UC1704002649

GUIDE

SN: B10349-UP

1шт.

Выбрано товаров: 9