Запчасти Komatsu WA320-5 МОТОР (7/7) (БЕЗ ORIFICE) (№B-B8) ОСНОВН. КОМПОНЕНТЫ И РЕМКОМПЛЕКТЫ

Схема запчастей Komatsu WA320-5 - МОТОР (7/7) (БЕЗ ORIFICE) (№B-B8) ОСНОВН. КОМПОНЕНТЫ И РЕМКОМПЛЕКТЫ
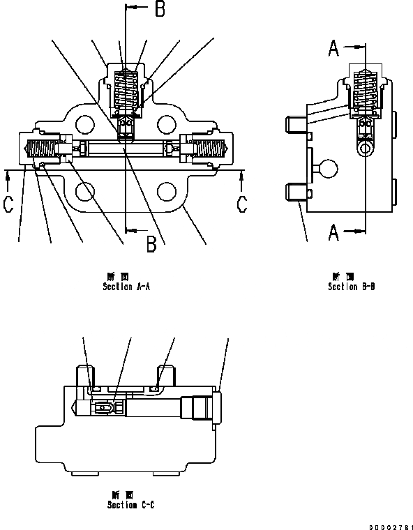
12
15
13
5
8
17
16
11
14
3
10
4
7
6
2
1
9
FIT
1:1
100%

Артикул

Название

Примечание

Количество

|1

419-18-31301

MOTOR

SN: B10001-B10348

1шт.

|$1

THIS ASSEMBLY CONSISTS OF ALL PARTS SHOWN IN FIGS.Y1651-01A1 TO Y1651-07A1.

-1шт.

|1

UC4020028468

FLASHING VALVE

SN: B10001-B10348

1шт.

1

UC1704497579

BODY

SN: B10001-B10348

1шт.

2

UC1720001575

SPOOL

SN: B10001-B10348

1шт.

3

UC1704302344

PLUNGER

SN: B10001-B10348

1шт.

4

UC1704171113

PLUG

SN: B10001-B10348

2шт.

5

UC1704178462

PLUG

SN: B10001-B10348

1шт.

6

UC1704171122

SPRING SEAT

SN: B10001-B10348

2шт.

7

UC1720119218

SPRING

SN: B10001-B10348

2шт.

8

UC1704178489

SPRING

SN: B10001-B10348

1шт.

9

UC1704002631

GUIDE

SN: B10001-B10348

1шт.

10

UC1704002649

GUIDE

SN: B10001-B10348

1шт.

11

UC1301616009

BOLT {HEXAGON}

SN: B10001-B10348

4шт.

12

UC1300156002

O-RING

SN: B10001-B10348

1шт.

13

UC1300152009

O-RING

SN: B10001-B10348

2шт.

14

UC1300384005

O-RING

SN: B10001-B10348

1шт.

15

UC1701530124

WASHER

SN: B10001-B10348

1шт.

16

UC1701539305

PLUG

SN: B10001-B10348

1шт.

17

UC1701570791

SHIM, 1.0MM

SN: B10001-B10348

1шт.

|17

UC1701579651

SHIM, 0.3MM

SN: B10001-B10348

1шт.

|17

UC1701579669

SHIM, 0.5MM

SN: B10001-B10348

1шт.

Выбрано товаров: 22