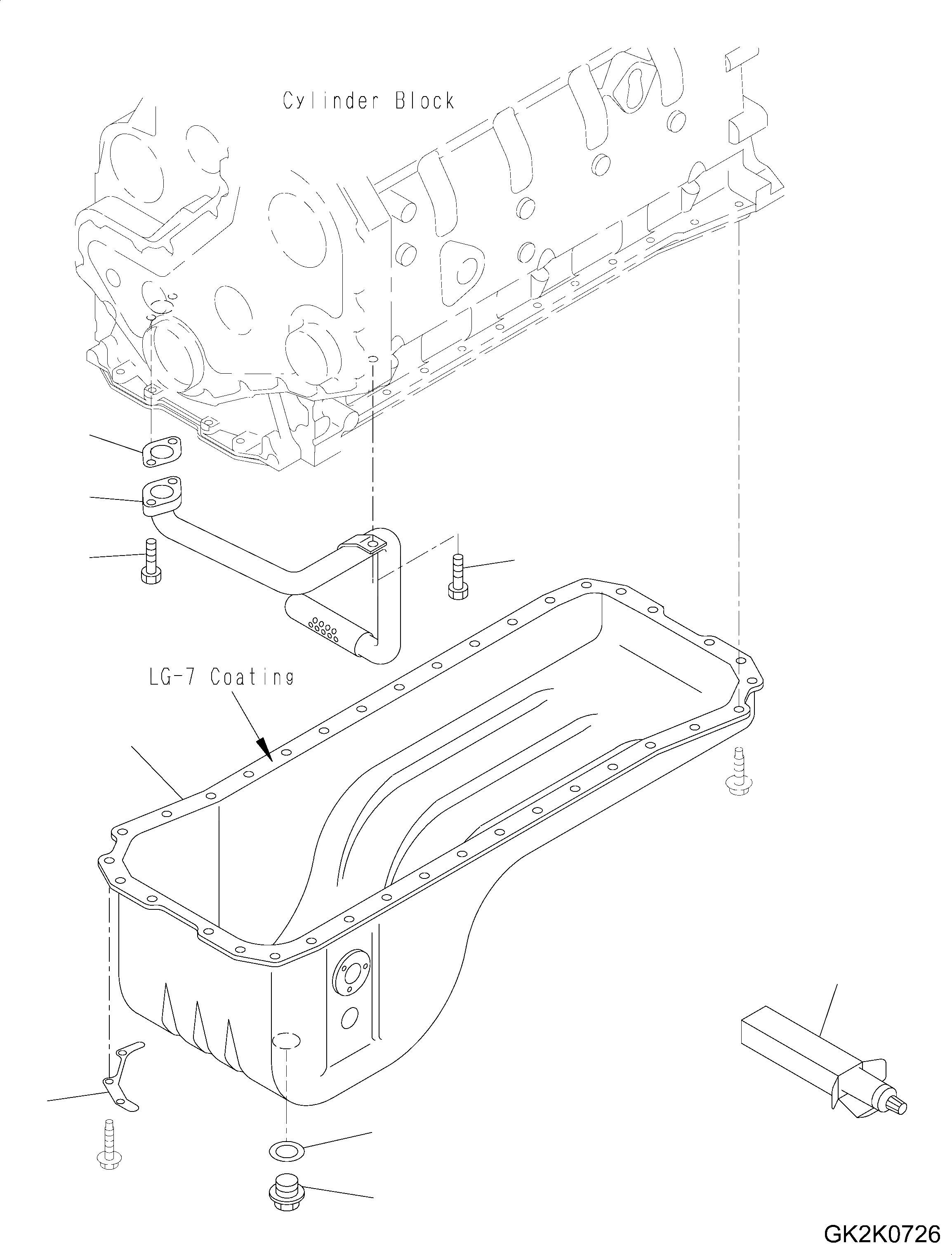
Запчасти Komatsu WA320-5 МАСЛЯНЫЙ ПОДДОН И ВСАСЫВАЮЩИЙ ПАТРУБОК AA ДВИГАТЕЛЬ

Схема запчастей Komatsu WA320-5 - МАСЛЯНЫЙ ПОДДОН И ВСАСЫВАЮЩИЙ ПАТРУБОК AA ДВИГАТЕЛЬ
7
3
8
4
1
2
5
6
9
FIT
1:1
100%

Артикул

Название

Примечание

Количество

1

6735-21-5140

PAN, OIL

SN: 21563300-UP

1шт.

2

6732-21-5270

PLATE, CLAMPING

SN: 21563300-UP

1шт.

3

6735-51-5531

CONNECTION, OIL SUCTION

SN: 21563300-UP

1шт.

4

6732-71-3220

SCREW

SN: 21563300-UP

1шт.

5

6732-21-5170

SEAL, OIL PAN DRAIN, (K2)

SN: 21563300-UP

1шт.

6

6736-21-5320

SCREW

SN: 21563300-UP

1шт.

7

6733-21-5521

GASKET, FLANGE, (K2)

SN: 21615568-UP

1шт.

|$8

0

GASKET, FLANGE, (K2)

SN: 21563300-21614876

1шт.

8

6738-21-5630

JOINT

SN: 21563300-UP

2шт.

9

09920-00150

LIQUID GASKET, LG-7, 150G

SN: 21563300-UP

-26шт.

Выбрано товаров: 10