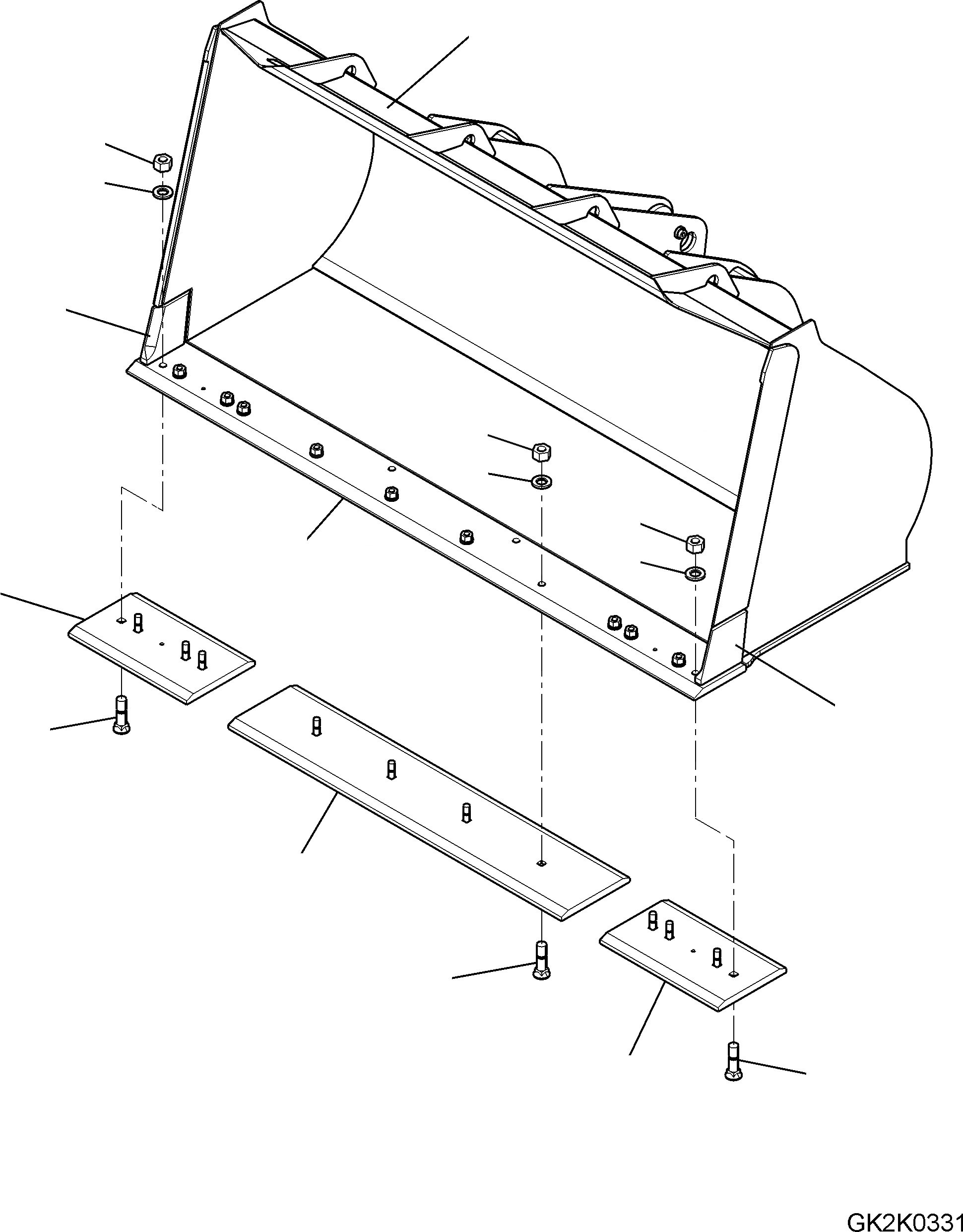
Запчасти Komatsu WA320-5 КОВШ (С РЕЖУЩ. КРОМКОЙ НА БОЛТАХ) (.CBM) (ТИП-B) T РАБОЧЕЕ ОБОРУДОВАНИЕ

Схема запчастей Komatsu WA320-5 - КОВШ (С РЕЖУЩ. КРОМКОЙ НА БОЛТАХ) (.CBM) (ТИП-B) T РАБОЧЕЕ ОБОРУДОВАНИЕ
1
9
8
3
9
8
9
2
8
5
4
7
6
7
5
7
FIT
1:1
100%

Артикул

Название

Примечание

Количество

|$1

419-72-H2150

BUCKET ASSEMBLY

SN: H50051-UP

1шт.

1

419-72-H2130

BUCKET

SN: H50051-UP

1шт.

2

419-70-H2D10

EDGE, WELDED

SN: H50051-UP

1шт.

3

419-70-H2F60

PLATE, RHS, WELDED

SN: H50051-UP

1шт.

4

419-70-H2F70

PLATE, LHS, WELDED

SN: H50051-UP

1шт.

5

424-70-H2C30

BLADE

SN: H50051-UP

2шт.

6

419-70-H2C80

BLADE

SN: H50051-UP

1шт.

7

421-70-H2A10

SCREW

SN: H50051-UP

12шт.

8

01643-32260

WASHER

SN: H50051-UP

12шт.

9

421-70-H2A20

NUT

SN: H50051-UP

12шт.

Выбрано товаров: 10