Запчасти Komatsu WA320-5L T-A JRB MULTI-COUPLER AND/OR 3-Х СЕКЦИОНН. (/) РАБОЧЕЕ ОБОРУДОВАНИЕ

Схема запчастей Komatsu WA320-5L - T-A JRB MULTI-COUPLER AND/OR 3-Х СЕКЦИОНН. (/) РАБОЧЕЕ ОБОРУДОВАНИЕ
6
7
6
9
4
10
8
2
4
3
5
2
1
FIT
1:1
100%

Артикул

Название

Примечание

Количество

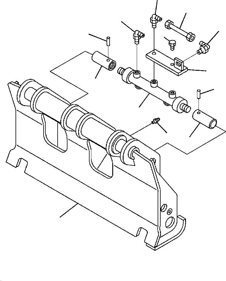
|$0

419-879-A102

COUPLER ASSEMBLY, JRB HYDRAULIC

SN: A32001--UP

1шт.

1

419-879-A111

FRAME

SN: A32001--UP

1шт.

2

418-U77-A270

PLUNGER

SN: A32001--UP

2шт.

3

417-879-A121

CYLINDER, HDRAULIC

SN: A32001--UP

1шт.

4

418-U77-A290

PIN, ROLL

SN: A32001--UP

2шт.

5

419-879-A120

FITTING, GREASE

SN: A32001--UP

2шт.

6

418-U77-A360

ELBOW, STRAIGHT THREAD

SN: A32001--UP

2шт.

7

417-879-A140

TUBE, TRANSFER

SN: A32001--UP

1шт.

8

417-879-A150

SUPPORT, TUBE

SN: A32001--UP

1шт.

9

418-U77-A370

ELBOW, BULKHEAD UNION

SN: A32001--UP

1шт.

10

417-879-A170

PLUG

SN: A32001--UP

1шт.

N/I

0157-32-0205

SEAT

SN: A32001--UP

2шт.

Выбрано товаров: 12