Запчасти Komatsu WA320-6 Highlift РАДИАТОР, С КОНДИЦИОНЕРОМ, РАДИАТОР, ПОСЛЕОХЛАДИТЕЛЬ И МАСЛООХЛАДИТЕЛЬ РАДИАТОР, С КОНДИЦИОНЕРОМ

Схема запчастей Komatsu WA320-6 Highlift - РАДИАТОР, С КОНДИЦИОНЕРОМ, РАДИАТОР, ПОСЛЕОХЛАДИТЕЛЬ И МАСЛООХЛАДИТЕЛЬ РАДИАТОР, С КОНДИЦИОНЕРОМ
19
20
21
14
22
29
30
30
29
30
24
29
28
32
31
32
31
23
25
23
29
30
26
27
13
1
15
16
18
7
6
5
4
6
17
12
7
8
11
10
30
29
2
9
8
9
7
3
2
2
33
a
a
b
b
c
c
FIT
1:1
100%

Артикул

Название

Примечание

Количество

|$0

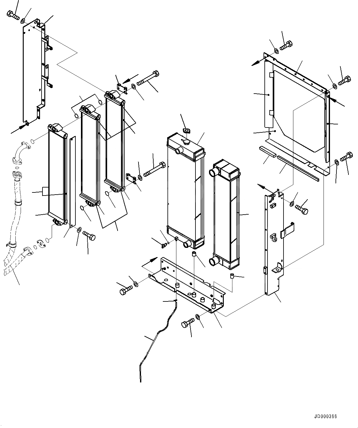
419-03-42100

Radiator Assembly

SN: H00059-H00256

1шт.

1

419-03-42110

Radiator

SN: H00059-H00256

1шт.

2

419-03-42120

Oil Cooler Assembly

SN: H00059-H00256

1шт.

3

419-03-42150

Oil Cooler

SN: H00059-H00256

1шт.

4

419-03-42160

Oil Cooler

SN: H00059-H00256

1шт.

5

419-03-42170

Oil Cooler

SN: H00059-H00256

1шт.

6

419-03-48530

Plate

SN: H00059-H00256

1шт.

7

07000-13035

O-Ring

SN: H00059-H00256

4шт.

8

01011-81040

Bolt

SN: H00059-H00256

4шт.

9

01643-31032

Washer

SN: H00059-H00256

4шт.

10

01010-81025

Bolt

SN: H00059-H00256

2шт.

11

01643-31032

Washer

SN: H00059-H00256

2шт.

12

419-03-48550

Plate

SN: H00059-H00256

1шт.

13

419-03-42130

Air Cooler

SN: H00059-H00256

1шт.

14

419-03-48411

Plate

SN: H00059-H00256

1шт.

15

419-03-48421

Frame

SN: H00059-H00256

1шт.

16

419-03-48431

Frame

SN: H00059-H00256

1шт.

17

419-03-48441

Frame

SN: H00059-H00256

1шт.

18

419-03-48451

Shroud

SN: H00059-H00256

1шт.

19

419-03-48461

Plate

SN: H00059-H00256

1шт.

20

419-03-48471

Plate

SN: H00059-H00256

1шт.

21

419-03-48750

Packing

SN: H00059-H00256

1шт.

22

419-03-48760

Packing

SN: H00059-H00256

1шт.

23

418-03-31480

Cushion

SN: H00059-H00256

4шт.

24

419-03-48560

Hose

SN: H00059-H00256

1шт.

25

416-S14-2270

Cap

SN: H00059-H00256

1шт.

26

205-03-62660

Plug

SN: H00059-H00256

1шт.

27

07000-11007

O-Ring

SN: H00059-H00256

1шт.

28

20Y-03-11330

Clip

SN: H00059-H00256

1шт.

29

01010-81020

Bolt

SN: H00059-H00256

27шт.

30

01643-31032

Washer

SN: H00059-H00256

27шт.

31

01010-81025

Bolt

SN: H00059-H00256

2шт.

32

01643-31032

Washer

SN: H00059-H00256

2шт.

33

419-62-48112

Hose

-1шт.

Выбрано товаров: 0