Запчасти Komatsu WA320-6 РАДИАТОР, КОНДИЦ. ВОЗДУХА КОНДЕНСАТОР БЛОК КРЕПЛЕНИЕ (№79-) РАДИАТОР, БЕЗ КОНДИЦ. ВОЗДУХА, ШИР. СЕРДЦЕВИНА, ДЛЯ LATCH ТИП

Схема запчастей Komatsu WA320-6 - РАДИАТОР, КОНДИЦ. ВОЗДУХА КОНДЕНСАТОР БЛОК КРЕПЛЕНИЕ (№79-) РАДИАТОР, БЕЗ КОНДИЦ. ВОЗДУХА, ШИР. СЕРДЦЕВИНА, ДЛЯ LATCH ТИП
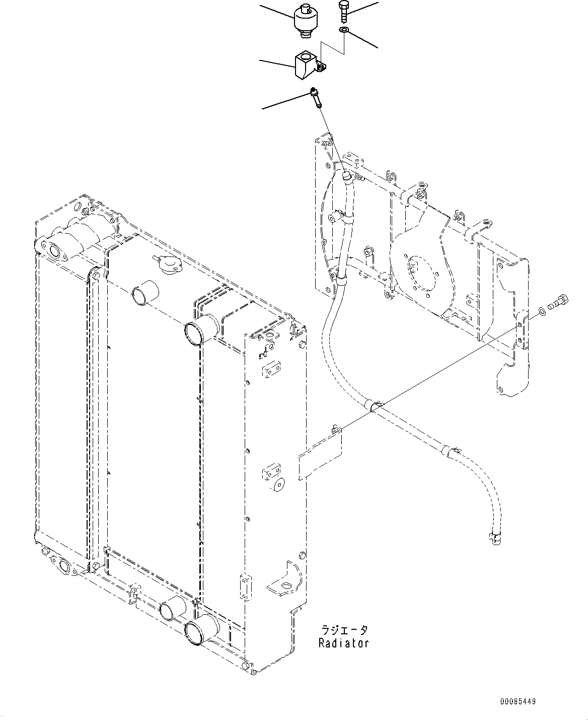
1
2
3
4
5
FIT
1:1
100%

Артикул

Название

Примечание

Количество

1

208-04-71780

Breather

SN: 70291-UP

1шт.

1

421-60-35170

Element

SN: 70291-UP

1шт.

1

421-60-35180

Cover

SN: 70291-UP

1шт.

1

421-60-35190

Nut

SN: 70291-UP

1шт.

2

418-04-41430

Block

SN: 70291-UP

1шт.

3

01010-81020

Bolt

SN: 70291-UP

2шт.

4

01643-31032

Washer

SN: 70291-UP

2шт.

5

425-62-14170

Nipple

SN: 70291-UP

1шт.

Выбрано товаров: 8