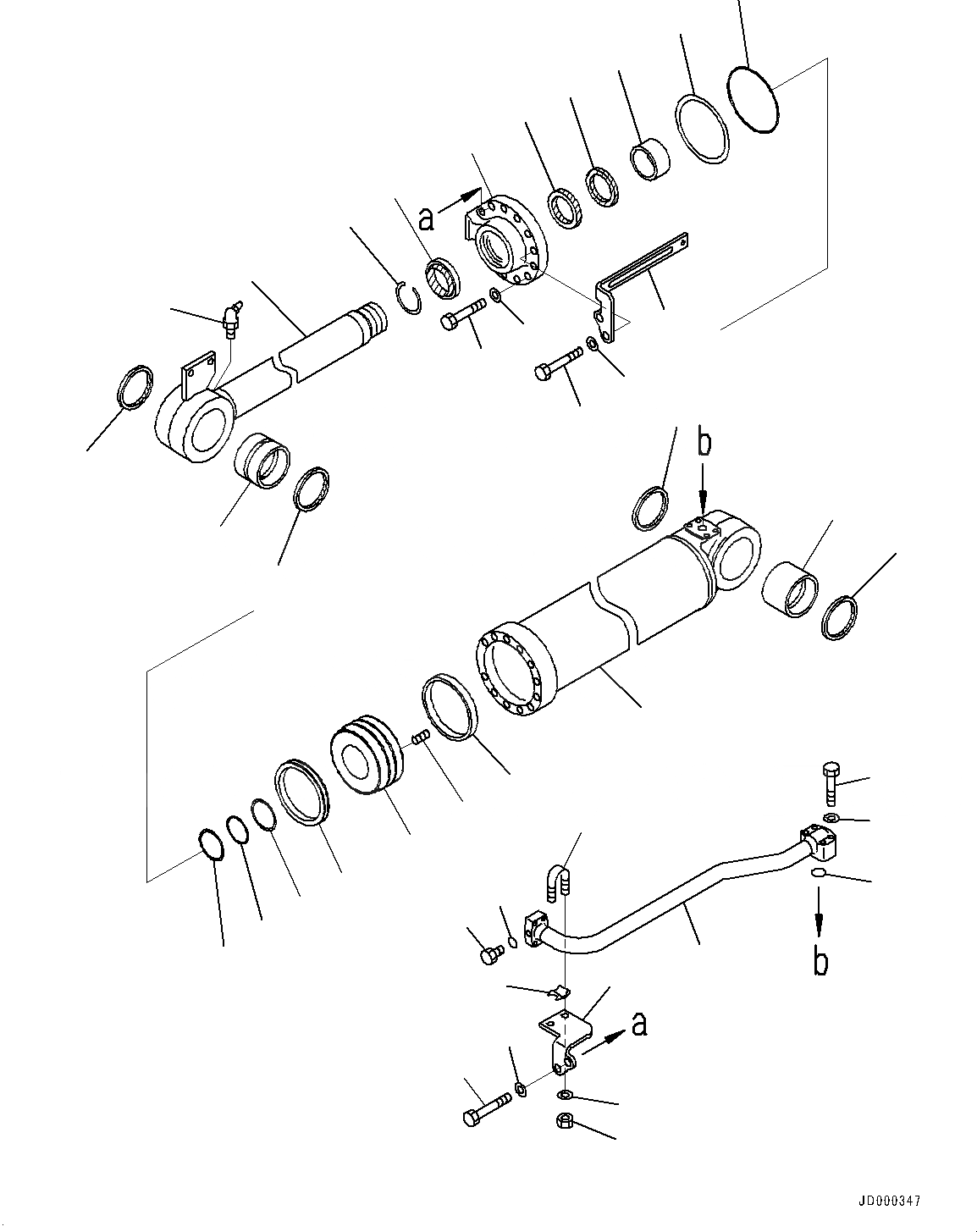
Запчасти Komatsu WA320-6 ЦИЛИНДР КОВША, ВНУТР. ЧАСТИ (№79-) ЦИЛИНДР КОВША, ВЫСОК. ЕМК.

Схема запчастей Komatsu WA320-6 - ЦИЛИНДР КОВША, ВНУТР. ЧАСТИ (№79-) ЦИЛИНДР КОВША, ВЫСОК. ЕМК.
1
18
20
34
28
32
30
27
2
33
29
5
6
6
13
15
31
19
16
14
23
25
26
25
22
21
8
8
7
24
3
4
18
12
11
10
17
18
20
35
36
9
FIT
1:1
100%

Артикул

Название

Примечание

Количество

|$0

707-01-0G220

Cylinder Assembly

SN: 70291-UP

1шт.

1

707-13-18820

Cylinder

SN: 70291-UP

1шт.

2

707-88-01612

Plate

SN: 70291-UP

1шт.

3

707-88-01621

Plate, (Kit : K05)

SN: 70291-UP

1шт.

4

707-58-90A70

Rod

SN: 70291-UP

1шт.

5

707-76-95060

Bushing

SN: 70291-UP

1шт.

6

421-09-11310

Seal, Dust, (Kit : K05)

SN: 70291-UP

2шт.

7

707-76-95050

Bushing

SN: 70291-UP

1шт.

8

421-09-11310

Seal, Dust, (Kit : K05)

SN: 70291-UP

2шт.

9

419-09-11250

Fitting

SN: 70291-UP

1шт.

10

707-27-18580

Head, Cylinder

SN: 70291-UP

1шт.

11

07000-15170

O-ring, (Kit : K05)

SN: 70291-UP

1шт.

12

07146-05172

Ring, Back-up, (Kit : K05)

SN: 70291-UP

1шт.

13

07179-13104

Ring, Snap

SN: 70291-UP

1шт.

14

707-56-90740

Seal, Dust, (Kit : K05)

SN: 70291-UP

1шт.

15

707-51-90030

Packing, Rod, (Kit : K05)

SN: 70291-UP

1шт.

16

707-52-90681

Bushing

SN: 70291-UP

1шт.

17

01010-81865

Bolt

SN: 70291-UP

8шт.

18

01643-31845

Washer

SN: 70291-UP

12шт.

19

707-51-90640

Ring, Buffer, (Kit : K05)

SN: 70291-UP

1шт.

20

01010-81875

Bolt

SN: 70291-UP

4шт.

21

707-36-18620

Piston, (Kit : K05)

SN: 70291-UP

1шт.

22

707-44-18180

Ring, Piston, (Kit : K05)

SN: 70291-UP

1шт.

23

07156-01822

Ring, Wear, (Kit : K05)

SN: 70291-UP

1шт.

24

01310-01216

Screw

SN: 70291-UP

1шт.

25

707-35-90010

Ring, Back-up, (Kit : K05)

SN: 70291-UP

2шт.

26

07000-15090

O-ring, (Kit : K05)

SN: 70291-UP

1шт.

27

707-86-12750

Tube

SN: 70291-UP

1шт.

28

07040-11007

Plug

SN: 70291-UP

1шт.

29

07002-11023

O-ring, (Kit : K05)

SN: 70291-UP

1шт.

30

07000-13035

O-ring, (Kit : K05)

SN: 70291-UP

1шт.

31

07283-33450

Clip

SN: 70291-UP

1шт.

32

01597-01009

Nut

SN: 70291-UP

2шт.

33

01643-31032

Washer

SN: 70291-UP

2шт.

34

01010-81060

Bolt

SN: 70291-UP

4шт.

35

01643-31032

Washer

SN: 70291-UP

4шт.

36

07283-53444

Seat

SN: 70291-UP

1шт.

Выбрано товаров: 0