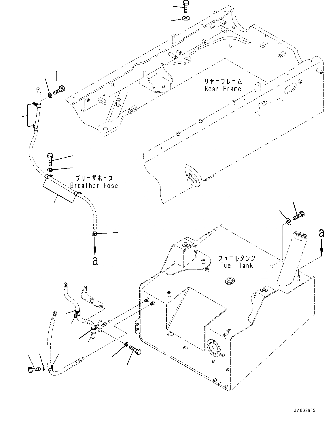
Запчасти Komatsu WA320-6 ТОПЛИВН. БАК., БАК КРЕПЛЕНИЕ (№7-) ТОПЛИВН. БАК., С EXTRA BAD ТОПЛИВН. И ПЛОХ. ТОПЛИВО СПЕЦ-ЯIFICATION, ВОДН.+DUST, ДОПОЛН. ФИЛЬТР.

Схема запчастей Komatsu WA320-6 - ТОПЛИВН. БАК., БАК КРЕПЛЕНИЕ (№7-) ТОПЛИВН. БАК., С EXTRA BAD ТОПЛИВН. И ПЛОХ. ТОПЛИВО СПЕЦ-ЯIFICATION, ВОДН.+DUST, ДОПОЛН. ФИЛЬТР.
5
4
5
4
8
10
9
7
6
3
2
11
12
12
13
14
13
14
1
3
FIT
1:1
100%

Артикул

Название

Примечание

Количество

1

01010-82055

Bolt

SN: 70305-UP

2шт.

2

01010-82070

Bolt

SN: 70305-UP

1шт.

3

154-30-51460

Washer

SN: 70305-UP

3шт.

4

04434-52711

Clip

SN: 70305-UP

2шт.

5

07095-20420

Cushion

SN: 70305-UP

2шт.

6

01010-81020

Bolt

SN: 70305-UP

2шт.

7

01643-31032

Washer

SN: 70305-UP

2шт.

8

04434-51910

Clip

SN: 70305-UP

1шт.

9

01010-81020

Bolt

SN: 70305-UP

1шт.

10

01643-31032

Washer

SN: 70305-UP

1шт.

11

07285-00130

Clip

SN: 70305-UP

1шт.

12

04434-51912

Clip

SN: 70305-UP

4шт.

13

01010-81020

Bolt

SN: 70305-UP

4шт.

14

01643-31032

Washer

SN: 70305-UP

4шт.

Выбрано товаров: 14