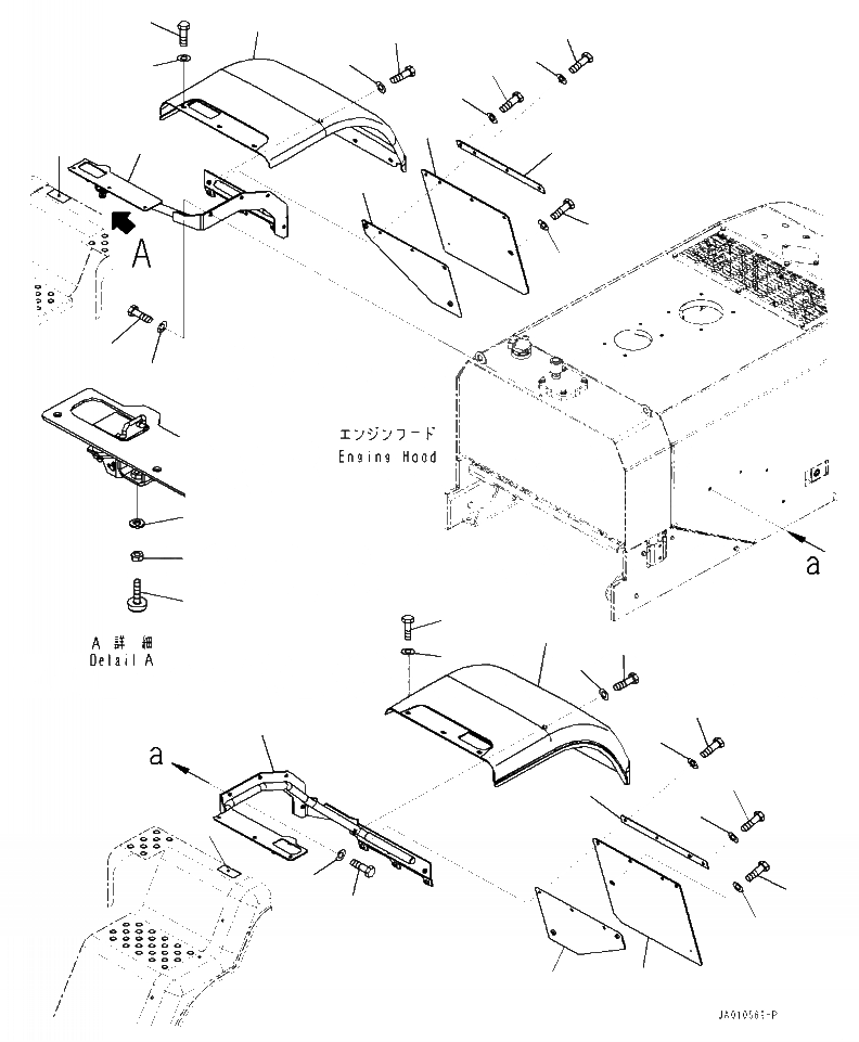
Запчасти Komatsu WA320-7 M- ЗАДН. КРЫЛО С ЗАДН. ПОЛН. КРЫЛО, КРЫЛО И КОРПУС ЧАСТИ КОРПУСА

Схема запчастей Komatsu WA320-7 - M- ЗАДН. КРЫЛО С ЗАДН. ПОЛН. КРЫЛО, КРЫЛО И КОРПУС ЧАСТИ КОРПУСА
19
30
19
31
18
32
18
33
28
20
26
29
34
17
27
35
21
22
5
15
24
25
23
2
1
2
3
3
11
4
12
13
10
14
6
16
9
8
7
FIT
1:1
100%

Артикул

Название

Примечание

Количество

1

419-54-54230

COVER

1шт.

2

421-54-34550

WASHER

6шт.

3

01010-D1020

BOLT

6шт.

4

419-54-54250

BRACKET

1шт.

5

01010-81230

BOLT

4шт.

6

01643-31232

WASHER

4шт.

7

09805-03000

PLATE, CAUTION, FENDER

1шт.

8

419-54-54690

PLATE

1шт.

9

419-54-54650

MUD, FLAP - LH

1шт.

10

419-54-54840

PLATE

1шт.

11

01010-D1235

BOLT

3шт.

12

01643-71232

WASHER

3шт.

13

01010-D1230

BOLT

1шт.

14

01643-71232

WASHER

1шт.

15

21N-30-11340

COLLAR

1шт.

16

01010-81225

BOLT

1шт.

17

419-54-54240

COVER

1шт.

18

421-54-34550

WASHER

6шт.

19

01010-D1020

BOLT

6шт.

20

419-54-54261

BRACKET

1шт.

21

01010-81230

BOLT

4шт.

22

01643-31232

WASHER

4шт.

23

20Y-54-11611

STOPPER

1шт.

24

01643-31032

WASHER

1шт.

25

01580-11008

NUT

1шт.

26

09805-03000

PLATE, CAUTION, FENDER

1шт.

27

419-54-54640

PLATE

1шт.

28

419-54-54650

MUD, FLAP - RH

1шт.

29

419-54-54840

PLATE

1шт.

30

01010-D1235

BOLT

3шт.

31

01643-71232

WASHER

3шт.

32

01010-D1230

BOLT

1шт.

33

01643-71232

WASHER

1шт.

34

21N-30-11340

COLLAR

1шт.

35

01010-81225

BOLT

1шт.

Выбрано товаров: 35