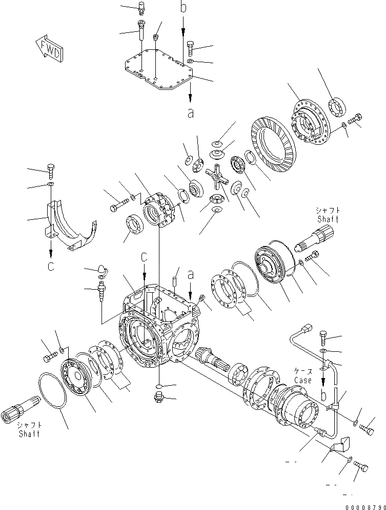
Запчасти Komatsu WA320L-5 ПЕРЕДНИЙ МОСТ (ДИФФЕРЕНЦ. /) СИЛОВАЯ ПЕРЕДАЧА

Схема запчастей Komatsu WA320L-5 - ПЕРЕДНИЙ МОСТ (ДИФФЕРЕНЦ. /) СИЛОВАЯ ПЕРЕДАЧА
1
2
3
4
5
6
7
7
7
7
8
8
9
9
9
9
10
10
11
12
13
14
15
16
17
18
19
20
21
21
22
22
23
24
25
26
27
28
29
30
30
31
32
33
33
34
34
35
35
36
36
37
37
38
38
39
39
40
41
42
FIT
1:1
100%

Артикул

Название

Примечание

Количество

|$1

419-22-30010

AXLE ASS'Y,FRONT

SN: 60001-UP

1шт.

|$$2

THIS ASSEMBLY CONSISTS OF ALL PARTS SHOWN IN FIGS.F4400-51A0 TO F4400-57A0.

-1шт.

|$6

419-22-31501

CASE ASS'Y

SN: 60001-UP

1шт.

1

419-22-31511

CASE

SN: 60001-UP

1шт.

2

419-22-31521

CASE

SN: 60001-UP

1шт.

3

01010-61295

BOLT

SN: 60001-UP

12шт.

4

01643-31232

WASHER

SN: 60001-UP

12шт.

5

175-21-12180

PIN

SN: 60001-UP

4шт.

6

418-22-31410

SPIDER

SN: 60001-UP

1шт.

7

419-22-11421

PINION,SIDE

SN: 60001-UP

4шт.

8

419-22-21430

GEAR

SN: 60001-UP

2шт.

9

418-22-31550

WASHER

SN: 60001-UP

4шт.

10

419-22-11631

WASHER

SN: 60001-UP

2шт.

11

01010-61240

BOLT

SN: 60001-UP

20шт.

12

01643-31232

WASHER

SN: 60001-UP

20шт.

13

419-22-33611

HOUSING

SN: 60001-UP

1шт.

14

07044-13620

PLUG,DRAIN

SN: 60001-UP

1шт.

15

07002-13634

O-RING

SN: 60001-UP

1шт.

16

07043-70211

PLUG

SN: 60001-UP

2шт.

17

419-33-11460

BLEEDER

SN: 60001-UP

2шт.

18

566-32-11620

CAP

SN: 60001-UP

2шт.

19

419-22-33621

COVER

SN: 60001-UP

1шт.

20

04020-01228

PIN,DOWEL

SN: 60001-UP

2шт.

21

01010-61240

BOLT

SN: 60001-UP

20шт.

22

01643-31232

WASHER

SN: 60001-UP

20шт.

23

419-22-33921

CONNECTOR

SN: 60001-UP

1шт.

24

07030-01030

BREATHER

SN: 60001-UP

1шт.

25

07043-70415

PLUG

SN: 60001-UP

1шт.

26

426-06-31120

SENSOR,OIL TEMPERATURE

SN: 60812-UP

1шт.

26

0

SENSOR,OIL TEMPERATURE

SN: 60001-60811

1шт.

27

01010-61225

BOLT

SN: 60001-UP

2шт.

28

01643-31232

WASHER

SN: 60001-UP

2шт.

29

419-22-33812

COVER,SENSOR

SN: 60001-UP

1шт.

29

0

COVER,SENSOR

SN: (60001-60811)

1шт.

30

04434-51012

CLIP

SN: 60001-UP

2шт.

31

01010-61225

BOLT

SN: 60001-UP

1шт.

32

01643-31232

WASHER

SN: 60001-UP

1шт.

33

419-22-21861

CARRIER

SN: 60001-UP

2шт.

34

419-22-11850

BEARING

SN: 60001-UP

2шт.

35

419-22-21760

SHIM, 0.05MM

SN: 60001-UP

6шт.

35

419-22-21770

SHIM, 0.2MM

SN: 60001-UP

3шт.

35

419-22-21780

SHIM, 0.3MM

SN: 60001-UP

3шт.

35

419-22-21790

SHIM, 0.8MM

SN: 60001-UP

2шт.

36

418-33-21430

RING

SN: 60001-UP

2шт.

37

01010-61240

BOLT

SN: 60001-UP

16шт.

38

01643-31232

WASHER

SN: 60001-UP

16шт.

39

419-33-21710

SEAL

SN: 60001-UP

2шт.

40

419-22-31710

COVER,GEAR

SN: 60001-UP

1шт.

41

01010-61225

BOLT

SN: 60001-UP

4шт.

42

01643-31232

WASHER

SN: 60001-UP

4шт.

Выбрано товаров: 50