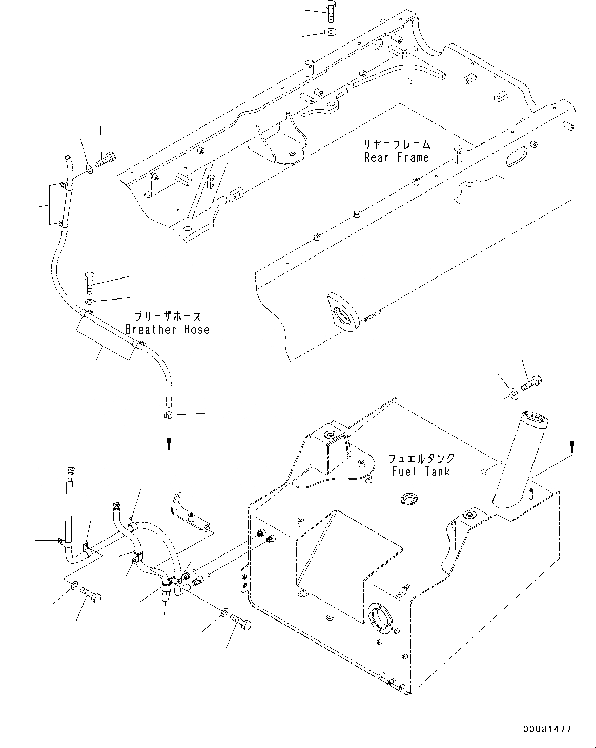
Запчасти Komatsu WA320PZ-6 ТОПЛИВН. БАК. (ЭЛЕМЕНТЫ КРЕПЛЕНИЯ) D ТОПЛИВН. БАК. AND КОМПОНЕНТЫ

Схема запчастей Komatsu WA320PZ-6 - ТОПЛИВН. БАК. (ЭЛЕМЕНТЫ КРЕПЛЕНИЯ) D ТОПЛИВН. БАК. AND КОМПОНЕНТЫ
5
4
8
5
4
8
8
8
7
6
10
9
3
2
11
12
12
13
14
13
14
1
3
a
a
FIT
1:1
100%

Артикул

Название

Примечание

Количество

1

01010-82055

BOLT

SN: 70092-70187

2шт.

2

01010-82070

BOLT

SN: 70092-70187

1шт.

3

154-30-51460

WASHER

SN: 70092-70187

3шт.

4

04434-52711

CLIP

SN: 70092-70187

2шт.

5

07095-20420

CUSHION

SN: 70092-70187

2шт.

6

01010-81020

BOLT

SN: 70092-70187

2шт.

7

01643-31032

WASHER

SN: 70092-70187

2шт.

8

04434-52110

CLIP

SN: 70092-70187

4шт.

9

01010-81020

BOLT

SN: 70092-70187

3шт.

10

01643-31032

WASHER

SN: 70092-70187

3шт.

11

07285-00130

CLIP

SN: 70092-70187

1шт.

12

04434-51912

CLIP

SN: 70092-70187

4шт.

13

01010-81020

BOLT

SN: 70092-70187

4шт.

14

01643-31032

WASHER

SN: 70092-70187

4шт.

Выбрано товаров: 0