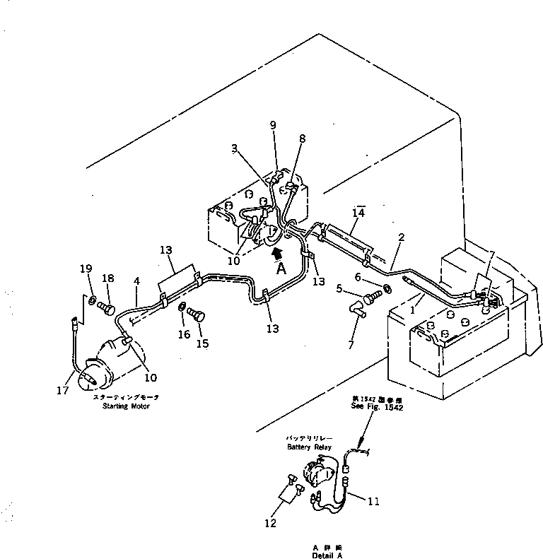
Запчасти Komatsu WA350-1 ЭЛЕКТРИКА (ЛИНИЯ АККУМУЛЯТОРА) КОМПОНЕНТЫ ДВИГАТЕЛЯ И ЭЛЕКТРИКА

Схема запчастей Komatsu WA350-1 - ЭЛЕКТРИКА (ЛИНИЯ АККУМУЛЯТОРА) КОМПОНЕНТЫ ДВИГАТЕЛЯ И ЭЛЕКТРИКА
FIT
1:1
100%

Артикул

Название

Примечание

Количество

1

424-06-12510

WIRE

SN: 10001-UP

1шт.

2

423-06-12710

WIRE

SN: 10001-UP

1шт.

3

424-06-12530

WIRE

SN: 10001-UP

1шт.

4

424-06-12540

WIRE

SN: 10001-UP

1шт.

5

01010-51020

BOLT

SN: 10001-UP

1шт.

6

01643-31032

WASHER

SN: 10001-UP

1шт.

7

08038-22511

CAP

SN: 10001-UP

3шт.

8

424-09-12540

BOOT

SN: 10001-UP

1шт.

9

424-09-12530

BOOT

SN: 10001-UP

1шт.

10

08038-00035

CAP

SN: 10001-UP

3шт.

11

419-06-12390

WIRE ASS'Y

SN: 10001-UP

1шт.

12

08038-00518

CAP

SN: 10001-UP

2шт.

13

101-04-12250

CLIP ASS'Y

SN: 10001-UP

4шт.

14

424-06-12730

CLIP

SN: 10001-UP

2шт.

15

01010-51016

BOLT

SN: 10001-UP

6шт.

16

01643-31032

WASHER

SN: 10001-UP

6шт.

17

424-06-12560

WIRE

SN: 10001-UP

1шт.

18

01010-51020

BOLT

SN: 10001-UP

1шт.

19

01643-31032

WASHER

SN: 10001-UP

1шт.

Выбрано товаров: 0