Запчасти Komatsu WA350-1 МНОГОЦЕЛЕВ. КОВШ (/) РАБОЧЕЕ ОБОРУДОВАНИЕ

Схема запчастей Komatsu WA350-1 - МНОГОЦЕЛЕВ. КОВШ (/) РАБОЧЕЕ ОБОРУДОВАНИЕ
FIT
1:1
100%

Артикул

Название

Примечание

Количество

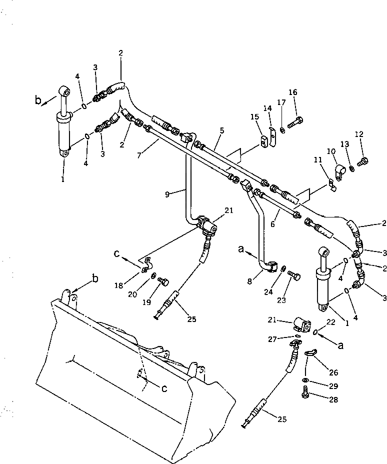
1

707-00-12030

CYLINDER ASS'Y,CLAM

SN: 10001-UP

2шт.

2

07123-20609

HOSE

SN: 10001-UP

4шт.

3

07235-10628

ELBOW

SN: 10001-UP

4шт.

4

07002-12434

O-RING

SN: 10001-UP

4шт.

5

423-823-1450

TUBE

SN: 10001-UP

1шт.

6

423-823-1440

TUBE

SN: 10001-UP

1шт.

7

423-823-1430

TUBE

SN: 10001-UP

1шт.

8

423-823-1420

TUBE,L.H.

SN: 10001-UP

1шт.

9

423-823-1410

TUBE,R.H.

SN: 10001-UP

1шт.

10

232-807-6161

CLIP

SN: 10001-UP

2шт.

11

195-78-48120

CLIP

SN: 10001-UP

2шт.

12

01010-51020

BOLT

SN: 10001-UP

2шт.

13

01643-31032

WASHER

SN: 10001-UP

2шт.

14

425-880-1380

CLAMP

SN: 10001-UP

2шт.

15

203-62-21720

SPACER

SN: 10001-UP

2шт.

16

01010-51040

BOLT

SN: 10001-UP

2шт.

17

01643-31032

WASHER

SN: 10001-UP

2шт.

18

130-62-62510

CLAMP

SN: 10001-UP

2шт.

19

01010-51020

BOLT

SN: 10001-UP

4шт.

20

01643-31032

WASHER

SN: 10001-UP

4шт.

21

07128-11000

JOINT,SWIVEL

SN: .-UP

2шт.

21

0

JOINT,SWIVEL

SN: 10001-.

2шт.

22

07000-13035

O-RING

SN: 10001-UP

2шт.

23

07372-21060

BOLT

SN: 10001-UP

8шт.

24

01643-51032

WASHER

SN: 10001-UP

8шт.

25

07125-21010

HOSE

SN: 10001-UP

2шт.

26

07371-31049

FLANGE,SPLIT

SN: 10001-UP

4шт.

27

07000-13032

O-RING

SN: 10001-UP

2шт.

28

07372-21030

BOLT

SN: 10001-UP

8шт.

29

01643-51032

WASHER

SN: 10001-UP

8шт.

Выбрано товаров: 30