Запчасти Komatsu WA350-1 ЭЛЕКТРИКА (ДВИГАТЕЛЬ ДАТЧИК) (TBG/ABE СПЕЦ-Я.) СПЕЦ. APPLICATION ЧАСТИ

Схема запчастей Komatsu WA350-1 - ЭЛЕКТРИКА (ДВИГАТЕЛЬ ДАТЧИК) (TBG/ABE СПЕЦ-Я.) СПЕЦ. APPLICATION ЧАСТИ
FIT
1:1
100%

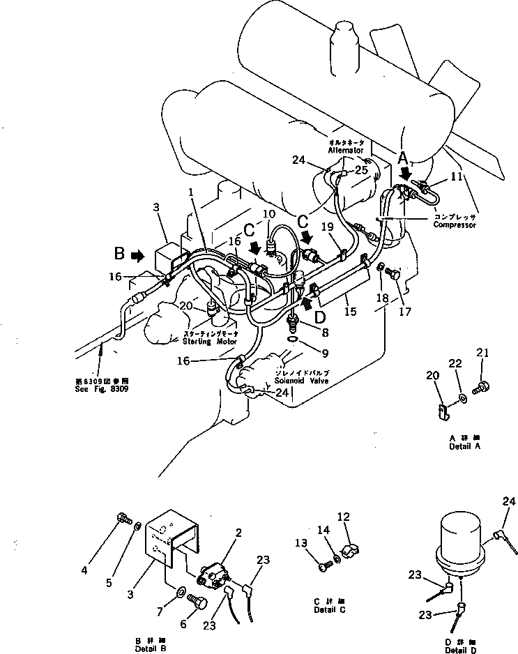
Артикул

Название

Примечание

Количество

1

423-06-12182

WIRE ASS'Y

SN: 10001-UP

1шт.

2

421-06-11440

BREAKER

SN: 10001-UP

1шт.

3

421-06-11450

BRACKET

SN: 10001-UP

1шт.

4

01010-50612

BOLT

SN: 10001-UP

2шт.

5

01643-30623

WASHER

SN: 10001-UP

2шт.

6

01010-51020

BOLT

SN: 10001-UP

2шт.

7

01643-31032

WASHER

SN: 10001-UP

2шт.

8

7861-99-4500

SENSOR,ENGINE OIL LEVEL

SN: 10001-UP

1шт.

9

07002-23634

O-RING

SN: 10001-UP

1шт.

10

7861-99-1300

SENSOR,OIL PRESSURE

SN: 10001-UP

1шт.

11

7861-91-3310

SENSOR,WATER TEMPERATURE

SN: 10872-UP

1шт.

11

7861-99-3300

SENSOR,WATER TEMPERATURE

SN: 10001-10871

1шт.

12

283-06-17130

CLIP

SN: 10001-UP

2шт.

13

01220-40612

SCREW

SN: 10001-UP

2шт.

14

01641-20608

WASHER

SN: 10001-UP

2шт.

15

419-09-11160

CLIP

SN: 10001-UP

3шт.

16

08036-21414

CLIP

SN: 10001-UP

3шт.

17

01010-51016

BOLT

SN: 10001-UP

6шт.

18

01643-31032

WASHER

SN: 10001-UP

6шт.

19

08036-22514

CLIP

SN: 10001-UP

2шт.

20

423-06-12640

CLIP

SN: 10001-UP

2шт.

21

01010-51020

BOLT

SN: 10001-UP

1шт.

22

01643-31032

WASHER

SN: 10001-UP

1шт.

23

08038-02027

CAP

SN: 10001-UP

4шт.

24

08038-00518

CAP

SN: 10001-UP

4шт.

25

08038-00519

CAP

SN: 10001-UP

2шт.

Выбрано товаров: 26