Запчасти Komatsu WA350-1 СИСТЕМА ТРУБ РАДИАТОРА КОМПОНЕНТЫ ДВИГАТЕЛЯ И ЭЛЕКТРИКА

Схема запчастей Komatsu WA350-1 - СИСТЕМА ТРУБ РАДИАТОРА КОМПОНЕНТЫ ДВИГАТЕЛЯ И ЭЛЕКТРИКА
FIT
1:1
100%

Артикул

Название

Примечание

Количество

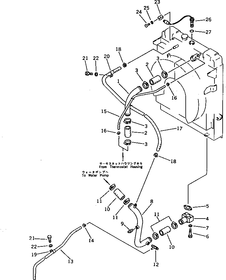
1

423-03-11510

TUBE

SN: 10001-UP

1шт.

2

421-03-11340

HOSE

SN: 10001-UP

2шт.

3

07281-00809

CLAMP

SN: 10001-UP

4шт.

4

423-03-11520

TUBE

SN: 10001-UP

1шт.

5

110-03-11490

GASKET

SN: 10001-UP

1шт.

6

01010-51275

BOLT

SN: 10001-UP

2шт.

7

01643-31232

WASHER

SN: 10001-UP

2шт.

8

424-03-11530

TUBE

SN: 10001-UP

1шт.

9

07042-20415

PLUG

SN: 10001-UP

1шт.

10

421-03-11340

HOSE

SN: 10001-UP

2шт.

11

07281-00809

CLAMP

SN: 10001-UP

4шт.

12

07730-30004

VALVE

SN: 10001-UP

1шт.

13

07261-21410

HOSE

SN: 10001-UP

1шт.

14

07281-00259

CLAMP

SN: 10001-UP

1шт.

15

07260-20963

HOSE

SN: 10001-UP

1шт.

16

07281-00197

CLAMP

SN: 10001-UP

2шт.

17

07261-22010

HOSE

SN: 10001-UP

1шт.

18

07281-00359

CLAMP

SN: 10001-UP

2шт.

19

08036-02514

CLIP

SN: 10001-UP

1шт.

20

08036-03014

CLIP

SN: 10001-UP

1шт.

21

01010-51020

BOLT

SN: 10001-UP

2шт.

22

01643-31032

WASHER

SN: 10001-UP

2шт.

23

421-06-12910

CLIP

SN: 10001-UP

1шт.

24

01220-40612

SCREW

SN: 10001-UP

1шт.

25

01643-30623

WASHER

SN: 10001-UP

1шт.

26

7861-91-4540

SENSOR,WATER LEVEL

SN: 11094-UP

1шт.

26

0

SENSOR,WATER LEVEL

SN: 10001-11093

1шт.

27

07002-23634

O-RING

SN: 10001-UP

1шт.

Выбрано товаров: 28