Запчасти Komatsu WA350-1 ТОПЛ. БАК И ТОПЛИВОПРОВОД(№-9999) КОМПОНЕНТЫ ДВИГАТЕЛЯ И ЭЛЕКТРИКА

Схема запчастей Komatsu WA350-1 - ТОПЛ. БАК И ТОПЛИВОПРОВОД(№-9999) КОМПОНЕНТЫ ДВИГАТЕЛЯ И ЭЛЕКТРИКА
FIT
1:1
100%

Артикул

Название

Примечание

Количество

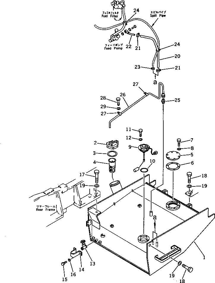
1

423-04-11311

TANK

SN: 10001-19999

1шт.

2

19M-04-11220

CAP

SN: 10001-19999

1шт.

3

07050-21202

GASKET

SN: 10001-19999

1шт.

4

07056-18416

STRAINER

SN: 10001-@

1шт.

5

421-04-11181

COVER

SN: 10001-19999

1шт.

6

421-04-11191

GASKET

SN: 10001-19999

1шт.

7

01010-51025

BOLT

SN: 10001-19999

6шт.

8

01643-31032

WASHER

SN: 10001-19999

6шт.

9

7861-91-4710

SENSOR,FUEL LEVEL

SN: .-19999

1шт.

|9

0

SENSOR,FUEL LEVEL

SN: 10001-.

1шт.

10

07000-02085

O-RING

SN: 10001-@

1шт.

11

01010-51016

BOLT

SN: 10001-19999

4шт.

12

01643-31032

WASHER

SN: 10001-19999

4шт.

13

416-04-10130

VALVE

SN: .-@

1шт.

|13

0

VALVE

SN: 10001-.

1шт.

14

421-04-11170

COVER

SN: 10001-19999

1шт.

15

01010-50820

BOLT

SN: 10001-19999

2шт.

16

01643-30823

WASHER

SN: 10001-19999

2шт.

17

01010-32470

BOLT

SN: 10001-19999

1шт.

18

01010-32455

BOLT

SN: 10001-19999

3шт.

19

01643-32460

WASHER

SN: 10001-19999

4шт.

20

07270-21054

TUBE

SN: 10001-19999

1шт.

21

07281-00197

CLAMP

SN: 10001-@

2шт.

22

424-04-11130

TUBE

SN: 10001-@

1шт.

23

07280-00910

CLAMP

SN: 10001-@

1шт.

24

08034-00414

BAND

SN: 10001-@

6шт.

25

07214-51013

CONNECTOR

SN: 10001-@

1шт.

26

423-04-11211

TUBE

SN: 10001-19999

1шт.

27

424-04-11120

CLIP

SN: 10001-@

2шт.

28

01010-51020

BOLT

SN: 10001-19999

2шт.

29

01643-31032

WASHER

SN: 10001-19999

2шт.

Выбрано товаров: 31