Запчасти Komatsu WA350-1 ТОПЛ. БАК И ТОПЛИВОПРОВОД(№-) КОМПОНЕНТЫ ДВИГАТЕЛЯ И ЭЛЕКТРИКА

Схема запчастей Komatsu WA350-1 - ТОПЛ. БАК И ТОПЛИВОПРОВОД(№-) КОМПОНЕНТЫ ДВИГАТЕЛЯ И ЭЛЕКТРИКА
FIT
1:1
100%

Артикул

Название

Примечание

Количество

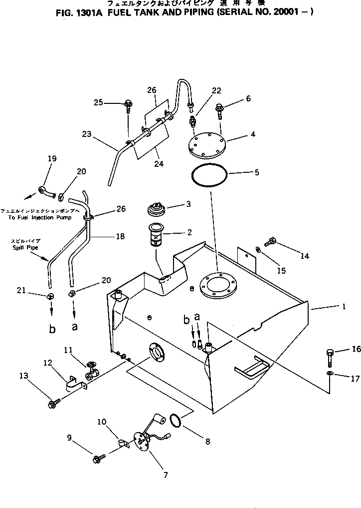
1

423-04-11313

TANK

SN: 20001-UP

1шт.

2

07056-18416

STRAINER

SN: 10001-UP

1шт.

3

423-04-11361

CAP,(WITH LOCK)

SN: 20186-UP

1шт.

|3

0

CAP,(WITH LOCK)

SN: 20001-20185

1шт.

|3

20Y-04-11240

PACKING

SN: 20001-UP

1шт.

|3

423-04-11770

PACKING¤ 1.0MM

SN: 20186-UP

1шт.

4

421-04-11182

COVER

SN: 20001-UP

1шт.

5

07000-05200

O-RING

SN: 20001-UP

1шт.

6

01435-01020

BOLT

SN: 20001-UP

6шт.

7

7861-91-4820

SENSOR,FUEL LEVEL

SN: 20001-UP

1шт.

8

07000-02085

O-RING

SN: 10001-UP

1шт.

9

01435-01016

BOLT

SN: 20001-UP

4шт.

10

08036-20814

CLIP

SN: 20001-UP

1шт.

11

416-04-10130

VALVE

SN: .-UP

1шт.

12

419-04-11120

COVER

SN: 20001-UP

1шт.

13

01435-00816

BOLT

SN: 20001-UP

2шт.

14

01010-32470

BOLT

SN: 20001-UP

1шт.

15

01643-32460

WASHER

SN: 20001-UP

1шт.

16

01011-32420

BOLT

SN: 20001-UP

2шт.

17

22X-22-11280

WASHER

SN: 20054-UP

2шт.

|17

0

WASHER

SN: 20001-20053

2шт.

18

07270-21049

TUBE

SN: 20001-UP

1шт.

19

424-04-11130

TUBE

SN: 10001-UP

1шт.

20

07281-00197

CLAMP

SN: 10001-UP

2шт.

21

07280-00910

CLAMP

SN: 10001-UP

1шт.

22

07214-71013

CONNECTOR

SN: 20186-UP

1шт.

|22

07214-51013

CONNECTOR

SN: 10001-20185

1шт.

23

423-04-11212

TUBE

SN: 20001-UP

1шт.

24

424-04-11120

CLIP

SN: 10001-UP

2шт.

25

01435-01016

BOLT

SN: 20150-UP

2шт.

|25

0

BOLT

SN: 20001-20149

2шт.

26

08034-00414

BAND

SN: 10001-UP

8шт.

Выбрано товаров: 32