Запчасти Komatsu WA350-1 ГИДРОЛИНИЯ ЭКСТРЕННОГО УПРАВЛЕНИЯ (/)(№-) РУЛЕВ. УПРАВЛЕНИЕ И СИСТЕМА УПРАВЛЕНИЯ

Схема запчастей Komatsu WA350-1 - ГИДРОЛИНИЯ ЭКСТРЕННОГО УПРАВЛЕНИЯ (/)(№-) РУЛЕВ. УПРАВЛЕНИЕ И СИСТЕМА УПРАВЛЕНИЯ
FIT
1:1
100%

Артикул

Название

Примечание

Количество

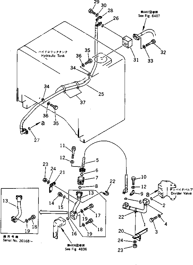
1

424-875-1211

TUBE

SN: 20001-UP

1шт.

2

07000-13035

O-RING

SN: 20001-UP

1шт.

3

01010-51060

BOLT

SN: 20001-UP

4шт.

4

01643-51032

WASHER

SN: 20001-UP

4шт.

5

07089-01007

HOSE

SN: 20001-UP

1шт.

6

07000-13032

O-RING

SN: 20001-UP

2шт.

7

702-13-23902

VALVE ASS'Y,CHECK

SN: ..-UP

1шт.

8

07000-13035

O-RING

SN: 20001-UP

1шт.

9

07371-31049

FLANGE,SPLIT

SN: 20001-UP

4шт.

10

07372-21035

BOLT

SN: 20001-UP

4шт.

11

01011-51000

BOLT

SN: 20001-UP

4шт.

12

01643-51032

WASHER

SN: 20001-UP

8шт.

13

423-875-1122

TUBE

SN: 20168-UP

1шт.

|13

423-875-1121

TUBE

SN: 20001-20167

1шт.

14

07040-11409

PLUG

SN: 20001-UP

1шт.

15

07002-11423

O-RING

SN: 20001-UP

1шт.

16

07000-13035

O-RING

SN: 20001-UP

1шт.

17

01010-51060

BOLT

SN: 20001-20167

2шт.

18

01010-51045

BOLT

SN: 20168-UP

4шт.

|18

01010-51050

BOLT

SN: 20001-20167

2шт.

19

01643-31032

WASHER

SN: 20001-UP

4шт.

20

423-875-1191

BRACKET

SN: 20001-UP

1шт.

21

424-875-1351

PLATE

SN: 20001-UP

1шт.

22

07283-23442

CLIP

SN: 20001-UP

2шт.

23

01599-01011

NUT

SN: 20001-UP

4шт.

24

01643-31032

WASHER

SN: 20001-UP

4шт.

25

423-875-1290

HOSE

SN: 20001-UP

1шт.

26

07000-03032

O-RING

SN: 20001-UP

1шт.

27

07000-13032

O-RING

SN: 20001-UP

1шт.

28

07371-31049

FLANGE,SPLIT

SN: 20001-UP

4шт.

29

07372-21035

BOLT

SN: 20001-UP

8шт.

30

01643-51032

WASHER

SN: 20001-UP

8шт.

31

423-875-1280

BLOCK

SN: 20001-UP

1шт.

32

01011-51010

BOLT

SN: 20001-UP

4шт.

33

01643-51032

WASHER

SN: 20001-UP

4шт.

34

421-16-11660

CLIP

SN: 20001-UP

2шт.

35

01010-51220

BOLT

SN: 20001-UP

2шт.

36

01643-31232

WASHER

SN: 20001-UP

2шт.

37

08034-00834

BAND

SN: 20168-UP

2шт.

Выбрано товаров: 39