Запчасти Komatsu WA350-1 ЗАДН. РАМА(№-) РАМА И ЧАСТИ КОРПУСА

Схема запчастей Komatsu WA350-1 - ЗАДН. РАМА(№-) РАМА И ЧАСТИ КОРПУСА
FIT
1:1
100%

Артикул

Название

Примечание

Количество

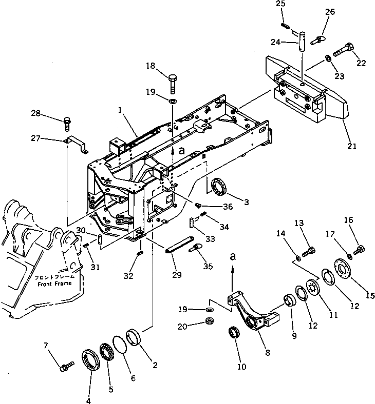
1

423-46-12370

FRAME,REAR

SN: 20001-UP

1шт.

2

423-46-12131

BUSHING,FRONT

SN: 10001-UP

1шт.

3

423-46-15121

PACKING

SN: 20001-UP

1шт.

4

423-46-12210

RETAINER

SN: 10001-UP

1шт.

5

423-46-15111

PACKING

SN: 20001-UP

1шт.

6

07000-05290

O-RING

SN: 10001-UP

1шт.

7

01435-01235

BOLT

SN: 20001-UP

6шт.

8

424-46-12156

SUPPORT

SN: 20093-UP

1шт.

|8

0

SUPPORT

SN: 20001-20092

1шт.

9

424-46-12172

BUSHING

SN: 10001-UP

1шт.

10

421-46-15132

PACKING

SN: 20001-UP

1шт.

11

424-46-12221

PLATE,THRUST

SN: 10001-UP

1шт.

12

424-46-12182

WASHER,THRUST

SN: 20316-UP

2шт.

|12

0

WASHER,THRUST

SN: 10001-20315

2шт.

13

01010-31670

BOLT

SN: 10001-UP

8шт.

14

01643-31645

WASHER

SN: 10001-UP

8шт.

15

424-46-12191

COVER

SN: 10001-UP

1шт.

16

01010-31660

BOLT

SN: 10785-UP

8шт.

17

01643-31645

WASHER

SN: 10001-UP

8шт.

18

01011-62790

BOLT

SN: 20001-UP

4шт.

19

01643-32780

WASHER

SN: 20001-UP

8шт.

20

01580-02722

NUT

SN: 20001-UP

4шт.

21

423-46-13313

WEIGHT,COUNTER

SN: 20001-UP

1шт.

|21

423-974-1112

WEIGHT,COUNTER (FOR LOG GRAPPLE)

SN: 20001-UP

1шт.

22

01011-32455

BOLT

SN: 20001-UP

4шт.

|22

423-974-1120

BOLT,(FOR LOG GRAPPLE)

SN: 20001-UP

4шт.

23

22X-22-11280

WASHER

SN: 20001-UP

4шт.

24

424-46-13221

PIN

SN: 10001-UP

1шт.

25

04025-01000

PIN,SPRING

SN: 10001-UP

2шт.

26

426-46-12280

PIN,LINCH

SN: 10001-UP

1шт.

27

423-46-12171

PLATE

SN: 20001-UP

1шт.

28

01435-01225

BOLT

SN: 20001-UP

2шт.

29

421-46-12920

BAR,LOCK

SN: 20001-UP

1шт.

30

421-46-12721

PIN

SN: 10001-UP

1шт.

31

04025-01065

PIN,SPRING

SN: 10001-UP

1шт.

32

04025-01065

PIN,SPRING

SN: 11334-UP

1шт.

33

421-46-12731

PIN

SN: 10001-UP

1шт.

34

04025-01065

PIN,SPRING

SN: 10001-UP

2шт.

35

421-46-12740

PIN,LINCH

SN: 10001-UP

1шт.

36

07049-03342

PLUG

SN: 20001-UP

8шт.

Выбрано товаров: 40