Запчасти Komatsu WA350-1 ОСНОВН. КОНСТРУКЦИЯ И ПРИБОРНАЯ ПАНЕЛЬ(№-9999) РАМА И ЧАСТИ КОРПУСА

Схема запчастей Komatsu WA350-1 - ОСНОВН. КОНСТРУКЦИЯ И ПРИБОРНАЯ ПАНЕЛЬ(№-9999) РАМА И ЧАСТИ КОРПУСА
FIT
1:1
100%

Артикул

Название

Примечание

Количество

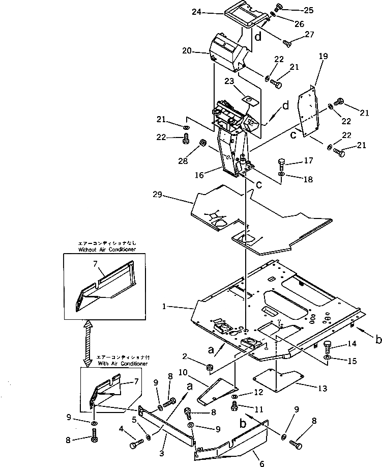
1

424-54-12173

FRAME,FLOOR

SN: .-19999

1шт.

|1

0

FRAME,FLOOR

SN: 10001-.

1шт.

2

09415-02512

CAP

SN: 10001-19999

1шт.

3

424-54-12672

COVER

SN: 10001-19999

1шт.

4

01010-51225

BOLT

SN: 10001-19999

3шт.

5

01643-31232

WASHER

SN: 10001-19999

3шт.

6

424-54-12681

COVER,L.H.

SN: 10001-19999

1шт.

7

424-54-12691

COVER,R.H. (WITH AIR CONDITIONER)

SN: 10001-19999

1шт.

|7

424-54-12810

COVER,R.H. (WITHOUT AIR CONDITIONER)

SN: 10001-19999

1шт.

8

01010-51220

BOLT,(WITH AIR CONDITIONER)

SN: 10001-19999

7шт.

|8

01010-51220

BOLT,(WITHOUT AIR CONDITIONER)

SN: 10001-19999

8шт.

9

01643-31232

WASHER,(WITH AIR CONDITIONER)

SN: 10001-19999

7шт.

|9

01643-31232

WASHER,(WITHOUT AIR CONDITIONER)

SN: 10001-19999

8шт.

10

424-54-12361

COVER

SN: 10001-19999

1шт.

11

01010-50816

BOLT

SN: 10001-19999

6шт.

12

01643-30823

WASHER

SN: 10001-19999

6шт.

13

424-54-12351

PLATE

SN: 10001-19999

1шт.

14

01010-51225

BOLT

SN: 10001-19999

5шт.

15

01643-31232

WASHER

SN: 10001-19999

5шт.

16

421-54-12215

SUPPORT

SN: 10001-19999

1шт.

17

01010-51220

BOLT

SN: 10001-19999

4шт.

18

01643-31232

WASHER

SN: 10001-19999

4шт.

19

421-54-12874

COVER

SN: 10001-19999

1шт.

20

421-54-12813

COVER

SN: 10001-@

1шт.

21

01010-50816

BOLT

SN: 10001-19999

12шт.

22

01643-30823

WASHER

SN: 10001-19999

12шт.

23

421-54-12273

INSULATOR

SN: 10001-@

1шт.

24

425-54-12871

COVER

SN: 10728-@

1шт.

|24

425-54-12870

COVER

SN: 10001-10727

1шт.

25

01220-40816

SCREW

SN: 10728-@

2шт.

|25

01010-50816

BOLT

SN: 10001-10727

2шт.

26

01643-30823

WASHER

SN: 10001-@

2шт.

27

01224-30616

SCREW

SN: 10001-19999

2шт.

28

09414-01053

CAP

SN: 10001-19999

1шт.

29

424-54-12751

MAT,FLOOR

SN: 10001-19999

1шт.

Выбрано товаров: 35