Запчасти Komatsu WA350-1 ПОЛ И ЛЕСТНИЦА(№-9999) РАМА И ЧАСТИ КОРПУСА

Схема запчастей Komatsu WA350-1 - ПОЛ И ЛЕСТНИЦА(№-9999) РАМА И ЧАСТИ КОРПУСА
FIT
1:1
100%

Артикул

Название

Примечание

Количество

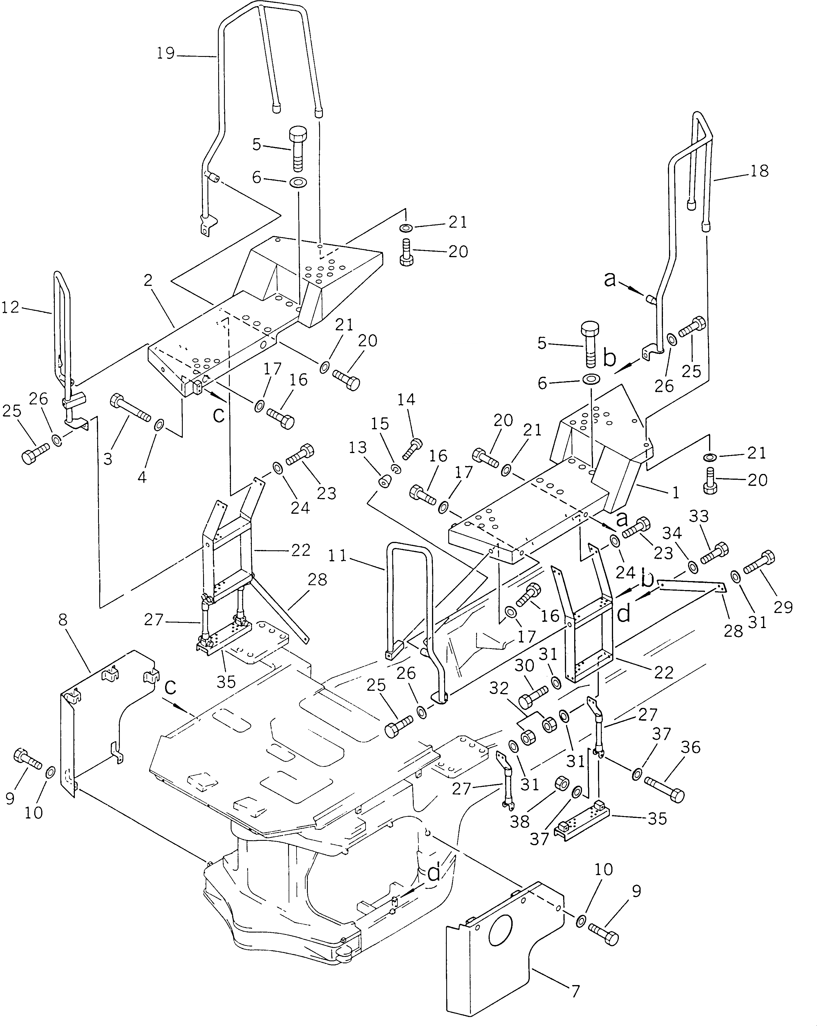
1

423-54-12211

FLOOR,L.H.

SN: 10001-19999

1шт.

2

423-54-12221

FLOOR,R.H.

SN: 10001-19999

1шт.

3

01010-51260

BOLT

SN: 10001-19999

4шт.

4

01643-31232

WASHER

SN: 10001-19999

4шт.

5

01010-52450

BOLT

SN: 10001-19999

4шт.

6

01643-32460

WASHER

SN: 10001-19999

4шт.

7

424-54-12782

COVER,L.H.

SN: 10001-19999

1шт.

8

424-54-12791

COVER,R.H.

SN: 10001-19999

1шт.

9

01010-51225

BOLT

SN: 10001-19999

10шт.

10

01643-31232

WASHER

SN: 10001-19999

10шт.

11

423-54-12231

HANDLE,L.H.

SN: 10001-@

1шт.

12

423-54-12241

HANDLE,R.H.

SN: 10001-@

1шт.

13

418-60-15150

STOPPER

SN: 10001-@

2шт.

14

01220-40630

SCREW

SN: 10001-@

2шт.

15

01602-20619

WASHER,SPRING

SN: 10001-@

2шт.

16

01010-51220

BOLT

SN: 10001-@

4шт.

17

01643-31232

WASHER

SN: 10001-@

4шт.

18

423-54-12251

HANDLE,L.H.

SN: 10001-@

1шт.

19

423-54-12261

HANDLE,R.H.

SN: 10001-@

1шт.

20

01010-51225

BOLT

SN: 10001-19999

6шт.

21

01643-31232

WASHER

SN: 10001-19999

6шт.

22

423-54-12271

LADDER

SN: 10001-@

2шт.

23

01010-51230

BOLT

SN: 10001-19999

8шт.

24

01643-31232

WASHER

SN: 10001-19999

8шт.

25

01010-51235

BOLT

SN: 10001-19999

4шт.

26

01643-31232

WASHER

SN: 10001-19999

4шт.

27

423-54-14260

ROPE,STEP

SN: 11139-@

4шт.

|27

0

ROPE,STEP

SN: 10001-11138

4шт.

28

423-54-12131

STAY

SN: 10001-19999

2шт.

29

01010-51245

BOLT

SN: 10001-19999

4шт.

30

01010-51235

BOLT

SN: 10001-19999

4шт.

31

01643-31232

WASHER

SN: 10001-19999

16шт.

32

01580-11210

NUT

SN: 10001-19999

8шт.

33

01010-51230

BOLT

SN: 10001-19999

2шт.

34

01643-31232

WASHER

SN: 10001-19999

2шт.

35

423-54-12770

STEP

SN: 10001-@

2шт.

36

01010-51265

BOLT

SN: 10001-19999

4шт.

37

01643-31232

WASHER

SN: 10001-19999

8шт.

38

426-43-19150

NUT,LOCK

SN: 10001-19999

4шт.

Выбрано товаров: 39