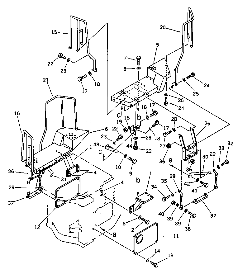
Запчасти Komatsu WA350-1 ПОЛ И ЛЕСТНИЦА (БЕЗ КАБИНЫ)(№-) РАМА И ЧАСТИ КОРПУСА

Схема запчастей Komatsu WA350-1 - ПОЛ И ЛЕСТНИЦА (БЕЗ КАБИНЫ)(№-) РАМА И ЧАСТИ КОРПУСА
FIT
1:1
100%

Артикул

Название

Примечание

Количество

1

421-54-18162

SUPPORT

SN: 20054-UP

2шт.

|1

0

SUPPORT

SN: 20001-20053

2шт.

2

01010-51660

BOLT

SN: 20001-UP

8шт.

3

01643-31645

WASHER

SN: 20001-UP

8шт.

4

421-54-18170

PLATE

SN: 20001-UP

4шт.

5

423-54-12211

FLOOR,L.H.

SN: 20028-UP

1шт.

|5

0

FLOOR,L.H.

SN: 20001-20027

1шт.

6

423-54-12221

FLOOR,R.H.

SN: 20028-UP

1шт.

|6

0

FLOOR,R.H.

SN: 20001-20027

1шт.

7

01010-52450

BOLT

SN: 20001-UP

8шт.

8

01643-32460

WASHER

SN: 20001-UP

8шт.

9

01010-51260

BOLT

SN: 20001-UP

4шт.

10

424-54-14220

WASHER

SN: 20216-UP

4шт.

11

424-54-12785

COVER,L.H.

SN: 20045-UP

1шт.

|11

424-54-12784

COVER,L.H.

SN: 20001-20044

1шт.

12

424-54-12792

COVER,R.H.

SN: 20001-UP

1шт.

13

01010-51220

BOLT

SN: 20001-UP

8шт.

14

01643-31232

WASHER

SN: 20001-UP

8шт.

15

423-54-12581

HANDLE,L.H.

SN: 20001-UP

1шт.

16

423-54-12591

HANDLE,R.H.

SN: 20001-UP

1шт.

17

01010-51235

BOLT

SN: 20001-UP

6шт.

18

424-54-14220

WASHER

SN: 20001-UP

6шт.

19

01580-11210

NUT

SN: 20001-UP

2шт.

20

423-54-12252

HANDLE,L.H.

SN: 20028-UP

1шт.

|20

0

HANDLE,L.H.

SN: 10001-20027

1шт.

21

423-54-12262

HANDLE,R.H.

SN: 20028-UP

1шт.

|21

0

HANDLE,R.H.

SN: 10001-20027

1шт.

22

01010-51230

BOLT

SN: 20001-UP

6шт.

23

424-54-14220

WASHER

SN: 20001-UP

6шт.

24

01010-51235

BOLT

SN: 20216-UP

10шт.

|24

0

BOLT

SN: 20001-20215

10шт.

25

01643-31232

WASHER

SN: 20216-UP

10шт.

26

423-54-12271

LADDER

SN: 10001-UP

2шт.

27

01010-01235

BOLT

SN: 20216-UP

12шт.

|27

0

BOLT

SN: 20001-20215

12шт.

28

01643-31232

WASHER

SN: 20216-UP

12шт.

29

423-54-14260

ROPE,WIRE

SN: 10001-UP

4шт.

30

423-54-12132

STAY,L.H.

SN: 20001-UP

1шт.

31

423-54-12860

STAY,R.H.

SN: 20001-UP

1шт.

32

01010-01245

BOLT

SN: 20216-UP

4шт.

|32

0

BOLT

SN: 20001-20215

4шт.

33

01643-31232

WASHER

SN: 20216-UP

4шт.

34

01010-31235

BOLT

SN: 20216-UP

4шт.

|34

0

BOLT

SN: 20001-20215

4шт.

35

01643-31232

WASHER

SN: 20216-UP

4шт.

36

01584-01210

NUT

SN: 20001-UP

8шт.

37

423-54-12770

STEP

SN: 10001-UP

2шт.

38

01010-01265

BOLT

SN: 20216-UP

4шт.

|38

0

BOLT

SN: 20001-20215

4шт.

39

01643-31232

WASHER

SN: 20216-UP

8шт.

|39

01643-31232

WASHER

SN: 20001-20215

4шт.

40

426-43-19150

NUT,LOCK

SN: 10001-UP

4шт.

41

01010-01230

BOLT

SN: 20216-UP

2шт.

|41

01435-01225

BOLT

SN: 20001-20215

2шт.

42

01643-31232

WASHER

SN: 20216-UP

2шт.

43

424-54-15231

PLATE,L.H.

SN: 20001-UP

1шт.

|43

424-54-15241

PLATE,R.H.

SN: 20001-UP

1шт.

44

424-54-15251

PLATE,L.H.

SN: 20001-UP

1шт.

|44

424-54-15261

PLATE,R.H.

SN: 20001-UP

1шт.

Выбрано товаров: 59