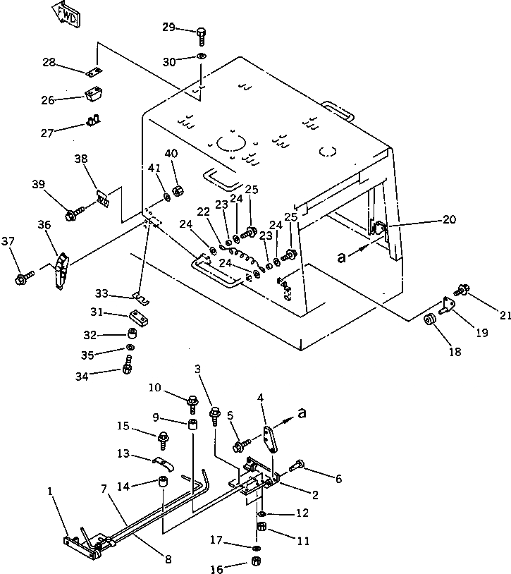
Запчасти Komatsu WA350-1 ЗАЩИТА РАДИАТОРА AND КАПОТ (/)(№-) РАМА И ЧАСТИ КОРПУСА

Схема запчастей Komatsu WA350-1 - ЗАЩИТА РАДИАТОРА AND КАПОТ (/)(№-) РАМА И ЧАСТИ КОРПУСА
FIT
1:1
100%

Артикул

Название

Примечание

Количество

1

423-54-11122

SUPPORT,L.H.

SN: 20001-UP

1шт.

2

423-54-11132

SUPPORT,R.H.

SN: 20001-UP

1шт.

3

01435-01245

BOLT

SN: 20001-UP

4шт.

4

424-54-11282

SUPPORT

SN: 20001-UP

2шт.

5

01435-01230

BOLT

SN: 20001-UP

4шт.

6

04205-12060

PIN

SN: 10001-UP

2шт.

7

423-54-11140

BAR,TORSION¤ L.H.

SN: 10001-UP

1шт.

8

423-54-11150

BAR,TORSION¤ R.H.

SN: 10001-UP

1шт.

9

423-54-11340

SPACER

SN: 10001-UP

4шт.

10

01435-01270

BOLT

SN: 20001-UP

4шт.

11

01580-11210

NUT

SN: 10001-UP

4шт.

12

01643-31232

WASHER

SN: 20001-UP

4шт.

13

424-54-11341

CLAMP

SN: 10001-UP

2шт.

14

424-54-11350

SPACER

SN: 10001-UP

2шт.

15

01435-01255

BOLT

SN: 20001-UP

2шт.

16

01580-11210

NUT

SN: 20001-UP

2шт.

17

01643-31232

WASHER

SN: 20001-UP

2шт.

18

424-54-11380

ROLLER

SN: 20001-UP

2шт.

19

424-54-11360

SUPPORT,L.H.

SN: 10001-UP

1шт.

20

424-54-11370

SUPPORT,R.H.

SN: 10001-UP

1шт.

21

01435-01230

BOLT

SN: 20001-UP

4шт.

22

424-54-14520

CABLE

SN: 20001-UP

2шт.

23

424-54-14230

SPACER

SN: 10001-UP

4шт.

24

424-54-14220

WASHER

SN: 10001-UP

8шт.

25

01435-01235

BOLT

SN: 20001-UP

4шт.

26

424-54-11561

BLOCK

SN: 11232-UP

1шт.

27

424-54-14991

PLATE

SN: 11232-UP

1шт.

28

424-54-11571

PLATE

SN: 11232-UP

1шт.

29

01050-51235

BOLT

SN: 20001-UP

2шт.

30

124-54-26540

WASHER

SN: 11232-UP

2шт.

31

424-54-14370

SEAT

SN: 10001-UP

2шт.

32

424-54-14380

COLLAR

SN: 10001-UP

4шт.

33

423-54-11820

SHIM¤ 1.2MM

SN: 10871-UP

2шт.

34

01010-50825

BOLT

SN: 10001-UP

4шт.

35

154-61-16570

WASHER

SN: 10001-UP

4шт.

36

423-54-11951

CATCH ASS'Y

SN: 20001-UP

2шт.

37

01435-00812

BOLT

SN: 20019-UP

4шт.

|37

0

BOLT

SN: 20001-20018

4шт.

38

423-54-11962

HOOK

SN: 20045-UP

2шт.

|38

0

HOOK

SN: 20001-20044

2шт.

39

01435-00825

BOLT

SN: 20019-UP

4шт.

|39

0

BOLT

SN: 20001-20018

4шт.

40

01580-10806

NUT

SN: 20001-UP

4шт.

41

01643-30823

WASHER

SN: 20001-UP

4шт.

Выбрано товаров: 44