Качественные детали и логистика
Оригинальные и аналоговые запчасти с доставкой по России, Казахстану и Беларуси
©2022 PartSell ООО "Система" ИНН 2463123282 ОГРН 1212400004838
Центральный офис: г. Красноярск, Академика Киренского, д.87, пом.4
Телефон: 8 (800) 777-65-74 Email: zakaz@partsell.ru
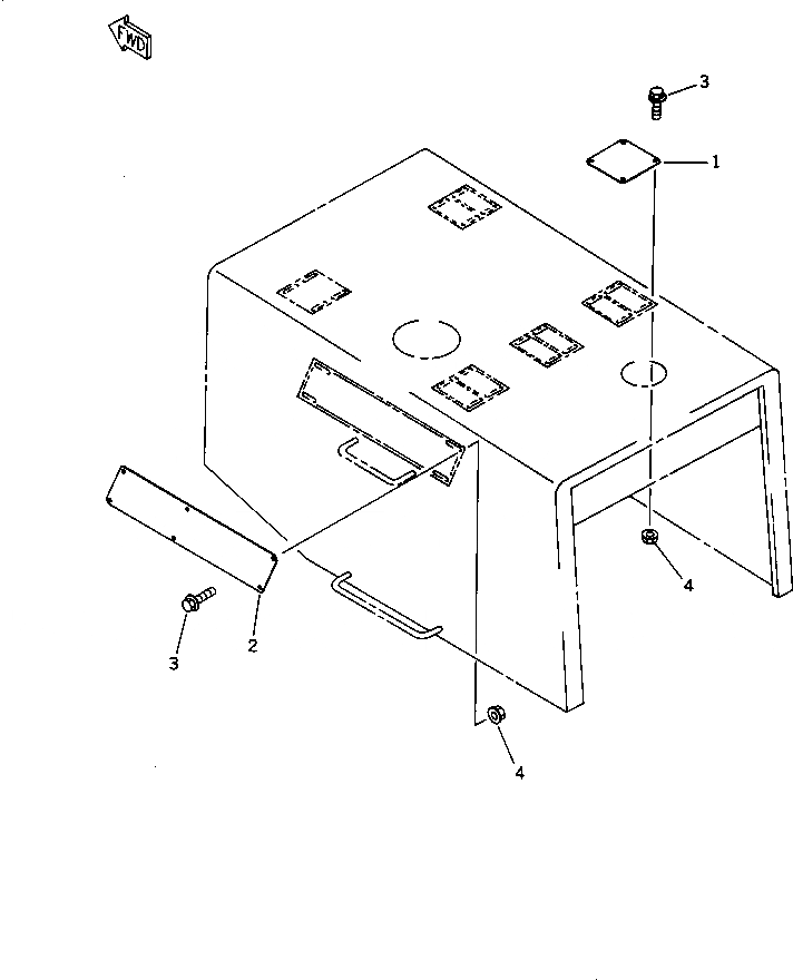
SNOW ЗАЩИТА(№-)
№
Артикул
Название
Примечание
Количество
1
423-Z03-1130
PLATE
SN: 20001-UP
5шт.
2
423-Z03-1121
2шт.
3
01435-01220
BOLT
32шт.
4
01584-01210
NUT
Выбрано товаров: 0