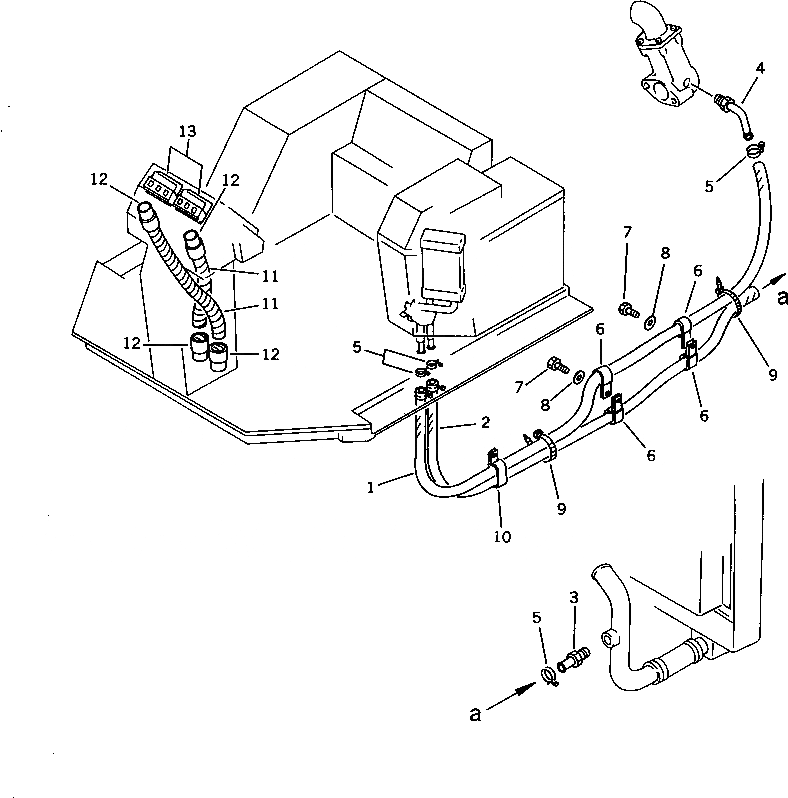
Запчасти Komatsu WA350-1 ТРУБКИ КОНДИЦИОНЕРА (DENSO) (/)(№9-9999) РАМА И ЧАСТИ КОРПУСА

Схема запчастей Komatsu WA350-1 - ТРУБКИ КОНДИЦИОНЕРА (DENSO) (/)(№9-9999) РАМА И ЧАСТИ КОРПУСА
FIT
1:1
100%

Артикул

Название

Примечание

Количество

1

09483-10526

HOSE

SN: 11319-19999

1шт.

2

09483-10525

HOSE

SN: 11319-19999

1шт.

3

424-07-11370

TUBE

SN: 11319-@

1шт.

4

424-07-11360

ELBOW

SN: 11319-@

1шт.

5

07281-00259

CLAMP

SN: 11319-19999

6шт.

6

08036-02514

CLIP

SN: 11319-19999

4шт.

7

01010-51020

BOLT

SN: 11319-19999

3шт.

8

01643-31032

WASHER

SN: 11319-19999

3шт.

9

08034-00823

BAND

SN: 11319-19999

10шт.

10

421-07-11550

CLIP

SN: 11319-19999

1шт.

11

421-07-12831

HOSE

SN: 11319-@

2шт.

12

421-07-12810

CONNECTOR

SN: 11319-@

4шт.

13

421-07-12512

GRILLE ASS'Y

SN: 11319-@

4шт.

Выбрано товаров: 13