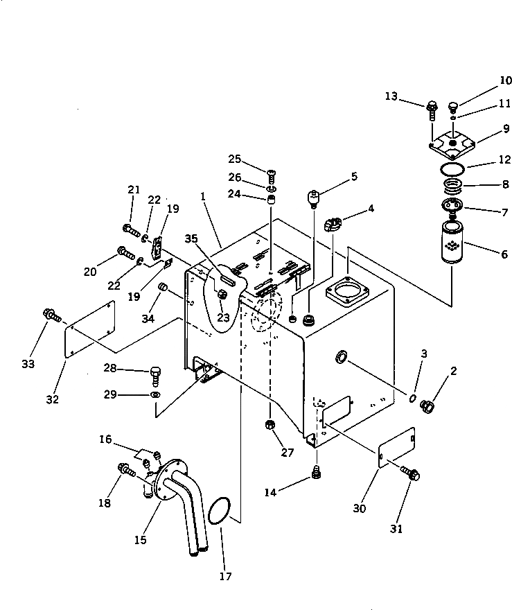
Запчасти Komatsu WA350-1 ГИДР. БАК.(№-) УПРАВЛ-Е РАБОЧИМ ОБОРУДОВАНИЕМ

Схема запчастей Komatsu WA350-1 - ГИДР. БАК.(№-) УПРАВЛ-Е РАБОЧИМ ОБОРУДОВАНИЕМ
FIT
1:1
100%

Артикул

Название

Примечание

Количество

1

423-60-15127

TANK

SN: 20054-UP

1шт.

|1

423-60-15126

TANK

SN: 20045-20053

1шт.

|1

423-60-15125

TANK

SN: 20001-20044

1шт.

2

421-60-11622

GAUGE,SIGHT

SN: 20001-UP

1шт.

3

07002-05234

O-RING

SN: 10001-UP

1шт.

4

07092-01000

CAP

SN: 20054-UP

1шт.

|4

0

CAP,FILLER

SN: 20001-20053

1шт.

|4

07051-00003

GASKET

SN: 20001-UP

1шт.

5

419-60-15231

BREATHER ASS'Y

SN: .-UP

1шт.

|5

0

BREATHER ASS'Y

SN: (.-20044)

1шт.

|5

285-62-17320

ELEMENT

SN: 20045-UP

1шт.

|5

419-60-15250

ELEMENT

SN: .-20044

1шт.

|5

419-60-15370

O-RING

SN: 20045-UP

2шт.

|5

419-60-15270

O-RING

SN: .-20044

1шт.

|5

424-60-15220

RING

SN: 20045-UP

1шт.

|5

419-60-15380

O-RING

SN: 20045-UP

1шт.

|5

419-60-15390

O-RING

SN: 20045-UP

1шт.

6

07063-01142

ELEMENT

SN: 10001-UP

1шт.

7

195-60-16300

VALVE ASS'Y

SN: 10001-UP

1шт.

8

195-60-16330

SPRING

SN: 10001-UP

1шт.

9

195-60-16242

COVER

SN: 10001-UP

1шт.

10

424-60-15150

PLUG

SN: 10001-UP

1шт.

11

07000-02010

O-RING

SN: 10001-UP

1шт.

12

07000-05175

O-RING

SN: 10001-UP

1шт.

13

01435-01230

BOLT

SN: 20001-UP

4шт.

14

424-01-11110

PLUG

SN: 20001-UP

1шт.

15

423-60-15190

TUBE

SN: 20001-UP

1шт.

16

07042-30108

PLUG

SN: 20001-UP

3шт.

17

07000-05200

O-RING

SN: 20001-UP

1шт.

18

01435-01025

BOLT

SN: 20001-UP

6шт.

19

421-09-12321

HOLDER

SN: 20001-UP

1шт.

20

01220-40408

SCREW

SN: 20001-UP

2шт.

21

01220-40412

SCREW

SN: 20001-UP

3шт.

22

01601-20410

WASHER,SPRING

SN: 20001-UP

5шт.

23

01584-10403

NUT

SN: 20054-UP

3шт.

24

418-60-15150

STOPPER

SN: 20001-UP

1шт.

25

01220-40630

SCREW

SN: 20001-UP

1шт.

26

01602-20619

WASHER,SPRING

SN: 20001-UP

1шт.

27

01584-00605

NUT

SN: 20019-UP

2шт.

28

01010-51640

BOLT

SN: 20186-UP

8шт.

|28

0

BOLT

SN: 20001-20185

8шт.

29

417-43-18170

WASHER

SN: 20001-UP

8шт.

30

423-60-15260

COVER

SN: 20045-UP

1шт.

|30

418-60-15180

PLATE

SN: 20001-20044

1шт.

31

01435-01225

BOLT

SN: 20001-UP

2шт.

32

423-60-15230

COVER

SN: 20001-UP

1шт.

33

01435-01225

BOLT

SN: 20001-UP

4шт.

34

09415-02520

CAP

SN: 20001-UP

4шт.

35

421-09-12780

CUSHION,STRIP

SN: 20039-UP

3шт.

Выбрано товаров: 49