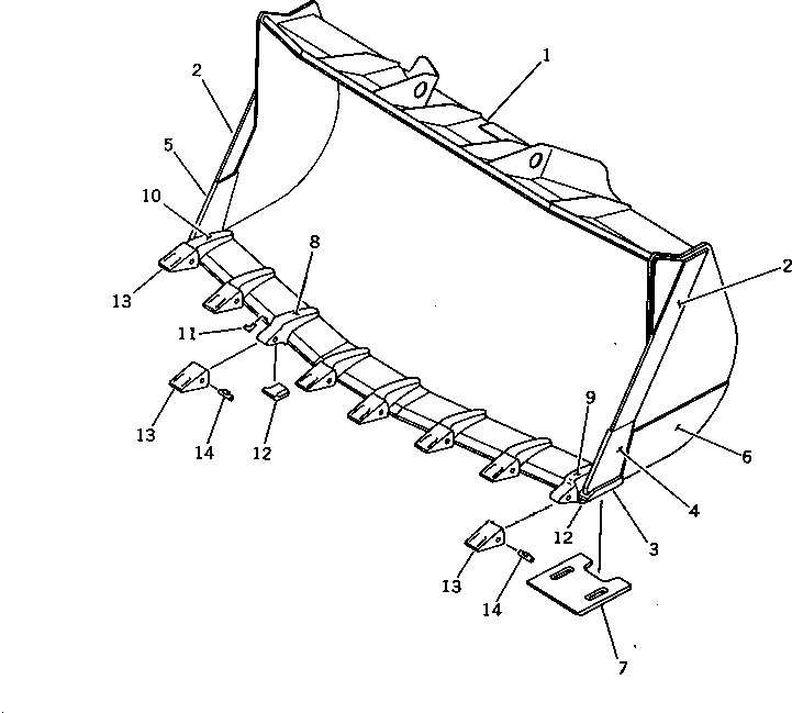
Запчасти Komatsu WA350-1 ROCK КОВШ¤ V-ОБРАЗН КРОМКА .M (С ЗУБЬЯМИ) РАБОЧЕЕ ОБОРУДОВАНИЕ

Схема запчастей Komatsu WA350-1 - ROCK КОВШ¤ V-ОБРАЗН КРОМКА .M (С ЗУБЬЯМИ) РАБОЧЕЕ ОБОРУДОВАНИЕ
FIT
1:1
100%

Артикул

Название

Примечание

Количество

|1

423-819-1110

BUCKET ASS'Y

SN: 10001-UP

1шт.

1

423-809-1110

BUCKET ASS'Y

SN: 10001-UP

1шт.

2

423-809-1140

PLATE (WELDED)

SN: 10001-UP

2шт.

3

423-809-1120

EDGE (WELDED)

SN: 10001-UP

1шт.

4

423-809-1150

PLATE,L.H. (WELDED)

SN: 10001-UP

1шт.

5

423-809-1160

PLATE,R.H. (WELDED)

SN: 10001-UP

1шт.

6

423-809-1180

PLATE (WELDED)

SN: 10001-UP

2шт.

7

423-70-12140

PLATE (WELDED)

SN: 10001-UP

2шт.

8

423-809-1230

PLATE (WELDED)

SN: 10001-UP

2шт.

9

423-847-1210

ADAPTER (WELDED)

SN: 10001-UP

6шт.

10

423-847-1220

ADAPTER,L.H. (WELDED)

SN: 10001-UP

1шт.

11

423-847-1230

ADAPTER,R.H. (WELDED)

SN: 10001-UP

1шт.

12

423-847-1250

PLATE (WELDED)

SN: 10001-UP

4шт.

13

423-847-1240

PLATE (WELDED)

SN: 10001-UP

8шт.

14

423-847-1140

TOOTH

SN: 10001-UP

8шт.

15

09244-02516

PIN

SN: 10001-UP

8шт.

Выбрано товаров: 16