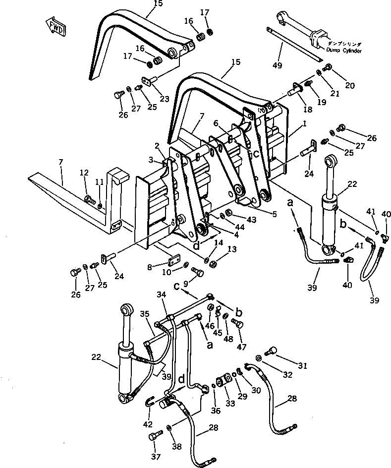
Запчасти Komatsu WA350-1 LUMBER ЗАХВАТ РАБОЧЕЕ ОБОРУДОВАНИЕ

Схема запчастей Komatsu WA350-1 - LUMBER ЗАХВАТ РАБОЧЕЕ ОБОРУДОВАНИЕ
FIT
1:1
100%

Артикул

Название

Примечание

Количество

1

423-884-1110

CARRIER

SN: 10001-UP

1шт.

2

423-881-1160

PLATE (WELDED)

SN: 10001-UP

2шт.

3

423-881-1170

PLATE (WELDED)

SN: 10001-UP

2шт.

4

423-881-1140

PLATE,L.H. (WELDED)

SN: 10001-UP

1шт.

5

423-881-1150

PLATE,R.H. (WELDED)

SN: 10001-UP

1шт.

6

419-881-1170

PLATE (WELDED)

SN: 10001-UP

2шт.

7

423-884-1120

FORK

SN: 10001-UP

2шт.

8

423-884-1130

PLATE

SN: 10001-UP

2шт.

9

01010-32460

BOLT

SN: 10001-UP

4шт.

10

01643-32460

WASHER

SN: 10001-UP

4шт.

11

419-884-1140

PLATE

SN: 10001-UP

4шт.

12

01010-31665

BOLT

SN: 10001-UP

4шт.

13

01580-01613

NUT

SN: 10001-UP

4шт.

14

01643-31645

WASHER

SN: 10001-UP

4шт.

|15

423-881-0010

ARM ASS'Y

SN: 10001-UP

2шт.

15

0

ARM

SN: 10001-UP

1шт.

16

417-70-11860

BUSHING

SN: 10001-UP

2шт.

17

417-09-11110

SEAL,DUST

SN: 10001-UP

4шт.

18

419-881-1250

PIN

SN: 10001-UP

2шт.

19

07020-00000

FITTING,GREASE

SN: 10001-UP

2шт.

20

01010-31625

BOLT

SN: 10001-UP

2шт.

21

421-70-11280

WASHER

SN: 10001-UP

2шт.

22

707-00-10040

CYLINDER ASS'Y

SN: 10001-UP

2шт.

23

419-881-1260

PIN

SN: 10001-UP

2шт.

24

419-881-1270

PIN

SN: 10001-UP

2шт.

25

07020-00000

FITTING,GREASE

SN: 10001-UP

4шт.

26

01010-31220

BOLT

SN: 10001-UP

4шт.

27

175-54-34170

WASHER

SN: 10001-UP

4шт.

28

07124-21010

HOSE

SN: 10001-UP

2шт.

29

07000-13032

O-RING

SN: 10001-UP

2шт.

30

07371-31049

FLANGE,SPLIT

SN: 10001-UP

4шт.

31

07372-01035

BOLT

SN: 10001-UP

8шт.

32

01643-51032

WASHER

SN: 10001-UP

8шт.

33

07128-11000

JOINT,SWIVEL

SN: .-UP

2шт.

|33

07128-01000

JOINT,SWIVEL

SN: 10001-.

2шт.

34

423-881-1120

TUBE,L.H.

SN: 10001-UP

1шт.

35

423-881-1130

TUBE,R.H.

SN: 10001-UP

1шт.

36

07000-13035

O-RING

SN: 10001-UP

2шт.

37

01010-31060

BOLT

SN: 10001-UP

8шт.

38

01643-51032

WASHER

SN: 10001-UP

8шт.

39

07123-20609

HOSE

SN: 10001-UP

4шт.

40

07235-10628

ELBOW

SN: 10001-UP

4шт.

41

07002-12434

O-RING

SN: 10001-UP

4шт.

42

07283-23442

CLIP

SN: 10001-UP

2шт.

43

01599-01011

NUT

SN: 10001-UP

4шт.

44

01643-31032

WASHER

SN: 10001-UP

4шт.

45

425-880-1380

CLAMP

SN: 10001-UP

2шт.

46

203-62-21720

SPACER

SN: 10001-UP

2шт.

47

01010-31040

BOLT

SN: 10001-UP

2шт.

48

01643-31032

WASHER

SN: 10001-UP

2шт.

49

423-884-1141

ANGLE

SN: .-UP

1шт.

|49

0

ANGLE

SN: 10001-.

1шт.

50

416-881-1170

PLATE¤ OPERATING,(NOT SHOWN)

SN: 10001-UP

1шт.

Выбрано товаров: 53