Запчасти Komatsu WA350-1 КОВШ .7M (ДЛЯ СОЕДИНИТ. УСТР-ВО)(№.-) РАБОЧЕЕ ОБОРУДОВАНИЕ

Схема запчастей Komatsu WA350-1 - КОВШ .7M (ДЛЯ СОЕДИНИТ. УСТР-ВО)(№.-) РАБОЧЕЕ ОБОРУДОВАНИЕ
FIT
1:1
100%

Артикул

Название

Примечание

Количество

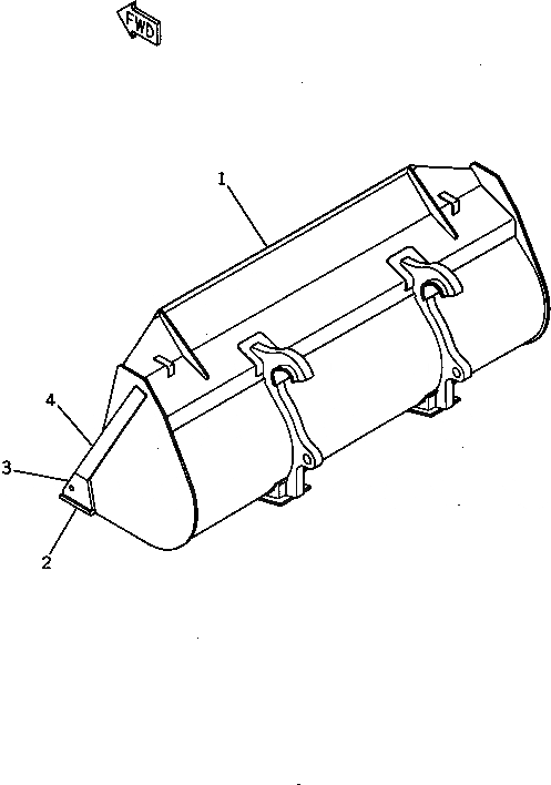
1

423-840-1101

BUCKET ASS'Y

SN: .-UP

1шт.

2

423-70-12131

PLATE (WELDED)

SN: .-UP

2шт.

3

423-70-12121

EDGE (WELDED)

SN: 10001-UP

1шт.

4

423-70-12152

PLATE,L.H. (WELDED)

SN: .-UP

1шт.

|4

423-70-12162

PLATE,R.H. (WELDED)

SN: .-UP

1шт.

Выбрано товаров: 5